5.1.1 Сфера застосування й загальні положення
У цій частині викладаються положення по процедурах відправлення небезпечних вантажів, що стосуються маркування, знаків небезпеки й документації, а також, коли це необхідно, дозволів на відправлення й попередніх повідомлень.
5.1.2 Використання транспортних пакетів
5.1.2.1 a) Якщо не помітні маркувальні знаки й знаки небезпеки, приписані в главі 5.2, за винятком пунктів 5.2.1.3–5.2.1.6, 5.2.1.7.2–5.2.1.7.8 і підрозділу 5.2.1.10, що характеризують усі небезпечні вантажі, що містяться в транспортному пакеті, на транспортний пакет:
i) повинен наноситися маркувальний знак у вигляді слів «ТРАНСПОРТНИЙ ПАКЕТ». Висота літер на маркувальному знаку «ТРАНСПОРТНИЙ ПАКЕТ» повинна становити не менше 12 мм. Маркувальний знак повинен бути виконаний офіційною мовою країни походження й, крім того, якщо ця мова не є англійською, німецькою або французькою, – англійською, німецькою або французькою мовою, за умови, що угодами (якщо такі є), укладеними між країнами, зацікавленими в перевезенні, не передбачено інше; і
ii) повинні наноситися знаки небезпеки й маркувальний знак із зазначенням номера ООН, а також інші маркувальні знаки, приписані для упаковок у главі 5.2, за винятком пунктів 5.2.1.3–5.2.1.6, 5.2.1.7.2–5.2.1.7.8 і підрозділу 5.2.1.10, у відношенні кожного небезпечного вантажу, що міститься в транспортному пакеті. Кожний застосовний маркувальний знак або знак небезпеки достатньо нанести лише один раз.
Розміщення знаків небезпеки на транспортних пакетах, що містять радіоактивні матеріали, повинно здійснюватися відповідно до пункту 5.2.2.1.11.
b) Стрілки, що вказують положення, зображені в підрозділі 5.2.1.10, повинні розміщатися на двох протилежних бічних сторонах транспортних пакетів, що містять упаковки, які повинні бути оснащені маркувальними знаками відповідно до пункту 5.2.1.10.1, за винятком випадків, коли ці маркувальні знаки залишаються помітними.
5.1.2.2 Кожна упаковка з небезпечними вантажами, що міститься в транспортному пакеті, повинна відповідати всім застосовним положенням ДОПНВ. Пакетування не повинно порушувати функцію, для якої призначена кожна окрема упаковка.
5.1.2.3 Кожна упаковка, що має маркувальні знаки положення, приписані в підрозділі 5.2.1.10, і поміщена в транспортний пакет або великогабаритну тару, повинна перевозитися в положенні, що відповідає цим маркувальним знакам.
5.1.2.4 Положення про заборону сумісного навантаження також застосовуються до вищевказаних транспортних пакетів.
5.1.3 Порожні неочищені тара (включаючи КСМ і великогабаритну тару), цистерни, MEMU, транспортні засоби й контейнери для перевезення вантажів навалом/насипом
5.1.3.1 Порожні неочищені тара (включаючи КСМ і великогабаритну тару), цистерни (включаючи автоцистерни, транспортні засоби-батареї, знімні цистерни, переносні цистерни, контейнери-цистерни, БЕГК), MEMU, транспортні засоби й контейнери для перевезення вантажів навалом/насипом, що містили небезпечні вантажі різних класів, за винятком класу 7, повинні бути оснащені маркуванням і знаками так само, як і в наповненому стані.
ПРИМІТКА: Відносно документації див. главу 5.4.
5.1.3.2 Контейнери, цистерни, КСМ, а також інші пакувальні комплекти й транспортні пакети, використовувані для перевезення радіоактивного матеріалу, не повинні використовуватися для зберігання або перевезення інших вантажів, якщо тільки вони не очищені від бета- і гамма-випромінювачів і альфа-випромінювачів низької токсичності нижче рівня 0,4 Бк/см2 і від усіх інших альфа-випромінювачів нижче рівня 0,04 Бк/см2.
5.1.4 Сумісне упакування
Якщо два небезпечних вантажі або більше поміщуються в одну й ту саму зовнішню тару, то упаковка повинна бути оснащена знаками небезпеки й маркувальними написами, які потрібні для кожної речовини або виробу. Якщо для різних вантажів потрібен один і той самий знак, його достатньо нанести лише один раз.
5.1.5 Загальні положення для класу 7
5.1.5.1 Затвердження перевезень і повідомлення
5.1.5.1.1 Загальні відомості
Крім затвердження конструкцій упаковок, описаного в главі 6.4, за певних обставин потрібне також багатобічне затвердження перевезень (пункти 5.1.5.1.2 і 5.1.5.1.3). За деяких обставин необхідно також повідомляти про перевезення компетентні органи (пункт 5.1.5.1.4).
5.1.5.1.2 Затвердження перевезень
Багатобічне затвердження повинне бути обов’язковим для:
a) перевезення упаковок типу B(M), які не відповідають вимогам пункту 6.4.7.5 або в конструкції яких не передбачена можливість контрольованого періодичного вентилювання або скидання надлишкового тиску;
b) перевезення упаковок типу B(M), що містять радіоактивний матеріал з активністю, залежно від випадку, більше 3 000 A1 або 3 000 A2 або 1 000 ТБк, залежно від того, яке зі значень менше;
c) перевезення упаковок, що містять подільні матеріали, якщо сума індексів безпеки з критичності упаковок в одному транспортному засобі або контейнері перевищує 50, і
d) (Зарезервовано);
e) перевезення SCO-III,
за винятком випадків, коли компетентний орган може дозволити транспортування на територію або через територію своєї країни без затвердження перевезення, включивши спеціальне положення про це в документ про затвердження конструкції (див. пункт 5.1.5.2.1).
5.1.5.1.3 Затвердження перевезень у спеціальних умовах
Компетентний орган може затверджувати положення, згідно з якими вантажі, що не відповідають всім застосовним вимогам ДОПНВ, можуть перевозитися в спеціальних умовах (див. розділ 1.7.4).
5.1.5.1.4 Повідомлення
Повідомлення компетентних органів потрібно в наступних випадках:
a) до першого перевезення будь-якої упаковки, що вимагає затвердження компетентним органом, відправник вантажу повинен забезпечити надання копій кожного діючого сертифіката, видаваного компетентним органом на конструкцію упаковки, компетентному органу країни походження перевезення й компетентному органу кожної країни, через територію або на територію якої транспортується вантаж. Відправник вантажу не зобов’язаний чекати підтвердження від компетентного органу про одержання сертифіката, а компетентний орган не зобов’язаний надавати таке підтвердження;
b) для кожного з наступних видів перевезень:
i) упаковки типу C, що містять радіоактивний матеріал з активністю, що перевищує 3 000 A1 або 3 000 A2, залежно від випадку, або 1 000 ТБк, залежно від того, яке зі значень менше;
ii) упаковки типу B(U), що містять радіоактивний матеріал з активністю, що перевищує 3 000 A1 або 3 000 A2, залежно від випадку, або 1 000 ТБк, залежно від того, яке зі значень менше;
iii) упаковки типу B(M);
iv) перевезення в спеціальних умовах.
Відправник вантажу повідомляє компетентний орган країни походження перевезення й компетентний орган кожної країни, через територію або на територію якої транспортується вантаж. Таке повідомлення повинне бути отримане кожним компетентним органом до початку перевезення, причому, бажано, не менше ніж за сім діб до його початку;
c) відправник вантажу не зобов’язаний посилати окреме повідомлення, якщо необхідна інформація була включена в заявку на затвердження перевезення (див. пункт 6.4.23.2);
d) у повідомленні про вантаж повинні міститися:
i) інформація, достатня для ідентифікації даної упаковки або упаковок, включаючи всі відповідні номери сертифікатів і розпізнавальні знаки;
ii) інформація про дату перевезення, очікувану дату прибуття й передбачуваний маршрут;
iii) назви радіоактивних матеріалів або нуклідів;
iv) опис фізичної й хімічної форми радіоактивного матеріалу або запис про те, що він являє собою радіоактивний матеріал особливого виду або радіоактивний матеріал з низькою здатністю до розсіювання; і
v) відомості про максимальну активність радіоактивного вмісту під час перевезення, виражену в бекерелях (Бк) з відповідним позначенням приставки СІ (див. пункт 1.2.2.1). Для подільного матеріалу замість активності може бути зазначена маса подільного матеріалу (або, у належних випадках, маса кожного подільного нукліда у сумішах), виражена в грамах (г) або кратних їм одиницях.
5.1.5.2 Сертифікати, видавані компетентним органом
5.1.5.2.1 Сертифікати, видавані компетентним органом, необхідні у відношенні:
a) конструкцій:
i) радіоактивного матеріалу особливого виду;
ii) радіоактивного матеріалу з низькою здатністю до розсіювання;
iii) подільного матеріалу, що підпадає під звільнення по пункту 2.2.7.2.3.5 f);
iv) упаковок, що містять 0,1 кг або більше гексафториду урану;
v) упаковок, що містять подільний матеріал, якщо на них не поширюється звільнення згідно з пунктом 2.2.7.2.3.5, 6.4.11.2 або 6.4.11.3;
vi) упаковок типу B(U) і типу B(M);
vii) упаковок типу C;
b) спеціальних умов;
с) деяких перевезень (див. пункт 5.1.5.1.2);
d) визначення основних значень для радіонуклідів, про які йдеться в пункті 2.2.7.2.2.1, для окремих радіонуклідів, не перелічених у таблиці 2.2.7.2.2.1 (див. пункт 2.2.7.2.2.2 a));
e) альтернативних меж активності для вантажу приладів або виробів, на які поширюються винятки (див. пункт 2.2.7.2.2.2 b)).
Сертифікати повинні підтверджувати відповідність застосовним вимогам, а щодо затверджень конструкції в сертифікатах конструкції повинен привласнюватися розпізнавальний знак.
Сертифікати про затвердження відносно конструкції упаковки й на перевезення можуть бути об’єднані в єдиний сертифікат.
Сертифікати й заявки на ці сертифікати повинні відповідати вимогам розділу 6.4.23.
5.1.5.2.2 Відправник вантажу повинен мати у своєму розпорядженні копію кожного застосовного сертифіката.
5.1.5.2.3 У випадку конструкцій упаковок, для яких не потрібно видачі компетентним органом сертифіката про затвердження, відправник вантажу повинен за запитом надавати для інспекції компетентному органу документальне підтвердження відповідності конструкції даної упаковки всім застосовним вимогам.
5.1.5.3 Визначення транспортного індексу (TI) і індексу безпеки з критичності (CSI)
5.1.5.3.1 Значення транспортного індексу (TI) для упаковки, транспортного пакета або контейнера або для неупакованих матеріалів LSA-I, SCO-I або SCO-III визначається в такий спосіб:
a) Визначається максимальна потужність дози в одиницях «мілізіверт у годину» (мЗв/год) на відстані 1 м від зовнішніх поверхонь упаковки, транспортного пакета, контейнера або неупакованих матеріалів LSA-I, SCO-I або SCO-III. Обмірюване значення множиться на 100. У випадку уранових і торієвих руд і їх концентратів за максимальну потужність дози в будь-якій точці на відстані 1 м від зовнішньої поверхні вантажу може бути прийнято наступний:
0,4 мЗв/год для руд і фізичних концентратів урану й торію;
0,3 мЗв/год для хімічних концентратів торію;
0,02 мЗв/год для хімічних концентратів урану, за винятком гексафториду урану.
b) Для цистерн, контейнерів і неупакованих матеріалів LSA-I, SCO-I і SCO-III значення, визначене згідно з вищевикладеним підпунктом а), множиться на відповідний коефіцієнт перерахування, зазначений у таблиці 5.1.5.3.1.
c) Значення, отримане відповідно до вищевикладених підпунктів а) і b), округляється убік підвищення до першого десяткового знака (наприклад, 1,13 округляється до 1,2), при цьому значення 0,05 або менше можна вважати рівним нулю. Підсумкова цифра являє собою значення TI.
Таблиця 5.1.5.3.1. Коефіцієнти перерахування для цистерн, контейнерів і неупакованих матеріалів LSA-I, SCO-I , SCO-I або SCO-III
|
Розмір вантажу а |
Коефіцієнт перерахування |
|
розмір вантажу ≤ 1 м2 |
1 |
|
1 м2 < розмір вантажу ≤ 5 м2 |
2 |
|
5 м2 < розмір вантажу ≤ 20 м2 |
3 |
|
20 м2 < розмір вантажу |
10 |
а Виміряна найбільша площа поперечного переріза вантажу.
5.1.5.3.2 TI для кожного твердого транспортного пакета, контейнера або транспортного засобу визначається як сума TI усіх упаковок, що містяться в ньому. Під час перевезення, здійснюваного одним відправником вантажу, відправник вантажу може визначати TI прямим вимірюванням потужності дози.
TI для нежорсткого транспортного пакета визначається тільки як сума TI усіх упаковок усередині транспортного пакета.
5.1.5.3.3 Індекс безпеки з критичності для кожного транспортного пакета або контейнера визначається як сума CSI усіх упаковок, що містяться в ньому. Ця ж процедура застосовується для визначення загальної суми CSI у вантажі або на транспортному засобі.
5.1.5.3.4 Упаковки, транспортні пакети й контейнери повинні бути віднесені до однієї з наступних категорій: I-БІЛА (I-WHITE), II-ЖОВТА (II-YELLOW) або III‑ЖОВТА (III-YELLOW) – відповідно до умов, зазначених в таблиці 5.1.5.3.4 та наступних вимог:
а) Стосовно до упаковки, транспортного пакета або контейнера при визначенні відповідної категорії повинні братися до уваги як транспортний індекс, так і потужність дози на поверхні. Якщо транспортний індекс задовольняє умові однієї категорії, а потужність дози на поверхні задовольняє умові іншої категорії, то упаковка, транспортний пакет або контейнер повинні бути віднесені до більш високої категорії. Для цієї цілі категорія I‑БІЛА повинна розглядатися як найнижча категорія.
b) TI повинен визначатися згідно із процедурами, зазначеними в пунктах 5.1.5.3.1 і 5.1.5.3.2.
c) Якщо потужність дози на поверхні перевищує 2 мЗв/год, упаковка або транспортний пакет повинні перевозитися на умовах виняткового використання й з дотриманням, залежно від випадку, положень розділу 7.5.11, CV33 (1.3) і (3.5) а).
d) Упаковка, що перевозиться в спеціальних умовах, повинна бути віднесена до категорії III-ЖОВТА, за винятком випадків, коли застосовуються положення пункту 5.1.5.3.5.
e) Транспортний пакет або контейнер, який містить упаковки, що перевозяться в спеціальних умовах, повинен бути віднесений до категорії III-ЖОВТА, за винятком випадків, коли застосовуються положення пункту 5.1.5.3.5.
Таблиця 5.1.5.3.4. Категорії упаковок, транспортних пакетів і контейнерів
|
Умови |
||
|
Транспортний індекс |
Максимальна потужність дози в будь-якій точці зовнішньої поверхні |
Категорія |
|
0 а |
Не більше 0,005 мЗв/год |
I-БІЛА |
|
Більше 0, але не більше 1 а |
Більше 0,005 мЗв/год, але не більше 0,5 мЗв/год |
II-ЖОВТА |
|
Більше 1, але не більше 10 |
Більше 0,5 мЗв/год, але не більше 2 мЗв/год |
III-ЖОВТА |
|
Більше 10 |
Більше 2 мЗв/год, але не більше 10 мЗв/год |
III-ЖОВТА b |
a Якщо виміряний TI не перевищує 0,05, то наведене значення може дорівнювати нулю згідно з пунктом 5.1.5.3.1 c).
b Повинні також перевозитися на умовах виняткового використання,за винятком контейнерів (див. таблицю D у пункті 7.5.11 CV33 (3.3)).
5.1.5.3.5 У всіх випадках міжнародних перевезень упаковок, при яких потрібне затвердження конструкції або перевезення компетентним органом, коли можуть застосовуватися різні типи затвердження в різних країнах, що мають відношення до перевезення, категорія повинна бути відповідно до сертифікату країни походження конструкції.
5.1.5.4 Особливі положення, що стосуються звільнених упаковок із радіоактивним матеріалом класу 7
5.1.5.4.1 Звільнені упаковки з радіоактивним матеріалом класу 7 повинні мати на зовнішній поверхні пакувального комплекту чітке й незмивне маркування із зазначенням:
a) номера ООН, якому передують літери «UN»;
b) позначення або відправника вантажу, або вантажоодержувача, чи обох; і
c) величини припустимої маси брутто, якщо вона перевищує 50 кг.
5.1.5.4.2 Вимоги глави 5.4 щодо документації не застосовуються до звільнених упаковок із радіоактивним матеріалом класу 7, за тим винятком, що:
a) номер ООН, якому передують літери «UN», а також найменування й адреса відправника вантажу й вантажоодержувача й, якщо застосовно, розпізнавальний знак для кожного сертифіката про затвердження компетентного органу (див. пункт 5.4.1.2.5.1 g)) повинні бути зазначені в транспортному документі, такому як коносамент, авіавантажна накладна або накладна КДПВ або ЦІМ;
b) за необхідності застосовуються вимоги пунктів 5.4.1.2.5.1 g), 5.4.1.2.5.3 і 5.4.1.2.5.4;
c) застосовуються вимоги розділів 5.4.2 і 5.4.4.
5.1.5.4.3 За необхідності застосовуються вимоги пунктів 5.2.1.7.8 і 5.2.2.1.11.5.
5.1.5.5 Резюме вимог відносно затвердження й попереднього повідомлення
ПРИМІТКА 1: До першого перевезення будь-якої упаковки, відносно конструкції якої потрібне затвердження компетентного органу, відправник вантажу повинен забезпечити надання копії сертифіката про затвердження на цю конструкцію компетентному органу кожної країни за маршрутом перевезення (див. пункт 5.1.5.1.4 а)).
ПРИМІТКА 2: Повідомлення потрібне в тому випадку, якщо активність умісту перевищує 3 ´ 103 A1 або 3 ´ 103 A2, або 1 000 ТБк (див. пункт 5.1.5.1.4 b)).
ПРИМІТКА 3: Багатобічне затвердження перевезення потрібно в тому випадку, якщо активність умісту перевищує 3 ´ 103 A1 або 3 ´ 103 A2 або 1 000 ТБк або якщо передбачена можливість контрольованого періодичного вентилювання або скидання надлишкового тиску (див. підрозділ 5.1.5.1).
ПРИМІТКА 4: Див. положення, що стосуються затвердження матеріалу й попереднього повідомлення відносно упаковки, застосовуваної для перевезення цього матеріалу.
|
Позиції |
Номер ООН |
Потрібне затвердження компетентного органу |
Потрібне повідомлення відправником вантажу перед кожним перевезенням компетентних органів країни походження й країн, через які проходить маршрут a |
Посилання |
|
|
країни походження |
країн, через які проходить маршрут a |
||||
|
Розрахунки незазначених значень A1 і A2 |
– |
Так |
Так |
Ні |
2.2.7.2.2.2 a), 5.1.5.2.1 d) |
|
Звільнені упаковки |
– |
||||
|
– конструкція |
Ні |
Ні |
Ні |
||
|
– перевезення |
Ні |
Ні |
Ні |
||
|
LSA b й SCO b ПУ-1, 2, 3, за винятком неподільних і подільних – |
– |
||||
|
– конструкція |
Ні |
Ні |
Ні |
||
|
– перевезення |
Ні |
Ні |
Ні |
||
|
Упаковка типу А b, за винятком неподільних і подільних – |
– |
||||
|
– конструкція |
Ні |
Ні |
Ні |
||
|
– перевезення |
Ні |
Ні |
Ні |
||
|
Упаковка типу B(U) b, за винятком неподільних і подільних – |
5.1.5.1.4 b), |
||||
|
– конструкція |
Так |
Ні |
Див. прим. 1 |
||
|
– перевезення |
Ні |
Ні |
Див. прим. 2 |
||
|
Упаковка типу B(M) b, за винятком неподільних і подільних – |
5.1.5.1.4 b), |
||||
|
– конструкція |
Так |
Так |
Ні |
||
|
– перевезення |
Див. прим. 3 |
Див. прим. 3 |
Так |
||
|
Упаковка типу C b, за винятком неподільних і подільних – |
5.1.5.1.4 b), |
||||
|
– конструкція |
Так |
Ні |
Див. прим. 1 |
||
|
– перевезення |
Ні |
Ні |
Див. прим. 2 |
||
a Країни, з яких, через територію яких або на територію яких перевозиться вантаж.
b Якщо радіоактивним умістом є подільний матеріал, не звільнений від дії положень, що стосуються упаковок для подільного матеріалу, то застосовуються положення, що стосуються упаковок для подільного матеріалу (див. розділ 6.4.11).
|
Позиції |
Номер ООН |
Потрібне затвердження компетентного органу |
Потрібне повідомлення відправником вантажу перед кожним перевезенням компетентних органів країни походження й країн, через які проходить маршрут a |
Посилання |
|
|
країни походження |
країн, через які проходить маршрут a |
||||
|
Упаковки для подільних матеріалів |
5.1.5.2.1 a), |
||||
|
– конструкція |
Так c |
Так c |
Ні |
||
|
– перевезення: |
6.4.22.5 |
||||
|
– сума індексів безпеки з критичності не більше 50 |
Ні d |
Ні d |
Див. прим. 2 |
||
|
– сума індексів безпеки з критичності більше 50 |
Так |
Так |
Див. прим. 2 |
||
|
Радіоактивний матеріал особливого виду – конструкція – перевезення |
– Див. прим. 4 |
Так Див. прим. 4 |
Ні Див. прим. 4 |
Ні Див. прим. 4 |
|
|
Радіоактивний матеріал з низькою здатністю до розсіювання |
5.1.5.2.1 a), 6.4.22.5 |
||||
|
– конструкція |
– |
Так |
Ні |
Ні |
|
|
– перевезення |
Див. прим. 4 |
Див. прим. 4 |
Див. прим. 4 |
Див. прим. 4 |
|
|
Упаковки, що містять не менше 0,1 кг гексафториду урану |
5.1.5.2.1 a), 6.4.22.1 |
||||
|
– конструкція |
– |
Так |
Ні |
Ні |
|
|
– перевезення |
Див. прим. 4 |
Див. прим. 4 |
Див. прим. 4 |
Див. прим. 4 |
|
|
Спеціальні умови – перевезення |
Так |
Так |
Так |
5.1.5.1.4 b) |
|
|
Затверджені конструкції упаковок, регульовані перехідними положеннями |
– |
Див. розділ 1.6.6 |
Див. розділ 1.6.6 |
Див. прим. 1 |
5.1.5.1.4 b), 5.1.5.2.1 a), |
|
Альтернативні межі активності для вантажу приладів або виробів, на який поширюється виняток |
– |
Так |
Так |
Ні |
|
|
Подільний матеріал, що підпадає під звільнення відповідно до пункту 2.2.7.2.3.5 f) |
– |
Так |
Так |
Ні |
|
a Країни, з яких, через територію яких або на територію яких перевозиться вантаж.
c Конструкції упаковок для подільного матеріалу можуть також вимагати затвердження у відношенні якої-небудь з інших позицій таблиці.
d Перевезення можуть вимагати, однак, затвердження у відношенні якої-небудь з інших позицій таблиці.
5.2.1 Маркування на упаковках
ПРИМІТКА 1: У відношенні маркувальних знаків, що стосуються виготовлення, випробувань і затвердження тари, великогабаритної тари, посудин для газів і КСМ, див. частину 6.
ПРИМІТКА 2: Відповідно до ПГС, під час перевезення піктограма ПГС, яка не потрібна згідно з ДОПНВ, повинна наноситися тільки в якості складеної частини повного маркування відповідно до ПГС, але не самостійно (див. пункт 1.4.10.4.4 ПГС).
5.2.1.1 Якщо в ДОПНВ не передбачено інше, на кожну упаковку повинен бути нанесений розбірливий і довговічний маркувальний знак, який вказує номер ООН, що відповідає небезпечним вантажам, що містяться в упаковці, якому передують літери «UN». Номер ООН і літери «UN» повинні мати висоту не менше 12 мм, за винятком упаковок місткістю не більше 30 л або максимальною масою нетто 30 кг і за винятком балонів місткістю по воді не більше 60 л, коли вони повинні мати висоту не менше 6 мм, а також за винятком упаковок місткістю не більше 5 л або максимальною масою нетто 5 кг, коли вони повинні бути співвідносного розміру. У випадку неупакованих виробів маркувальний знак наноситься на сам виріб, його опору або його транспортно-завантажувальне пристосування або на його пристрій для зберігання або запуску.
5.2.1.2 Усі маркувальні знаки на упаковці, потрібні відповідно до цієї глави:
a) повинні бути ясно видимими й розбірливими;
b) повинні бути здатні витримувати вплив будь-яких погодних умов без істотного зниження їх якості.
5.2.1.3 На аварійній тарі, включаючи великогабаритну аварійну тару, й аварійних посудинах під тиском повинен бути, крім того, проставлений маркувальний знак у вигляді слова «АВАРІЙНА/ИЙ». Висота літер на маркувальному знаку «АВАРІЙНА/ИЙ» повинна бути не менше 12 мм.
5.2.1.4 На контейнерах середньої вантажопідйомності для масових вантажів місткістю більше 450 л і великогабаритній тарі маркування повинне наноситися на дві протилежні бічні сторони.
5.2.1.5 Додаткові положення для вантажів класу 1
Під час перевезення вантажів класу 1 на упаковку повинне, крім того, наноситися належне відвантажувальне найменування, визначене відповідно до розділу 3.1.2. Цей розбірливий маркувальний знак, що не витирається, повинен бути виконаний однією або декількома мовами, однією з яких повинна бути англійська, німецька або французька мова, за умови, що умовами (якщо такі є), укладеними між країнами, зацікавленими в перевезенні, не передбачено інше.
5.2.1.6 Додаткові положення для вантажів класу 2
На посудини багаторазового використання повинні наноситися розбірливі й такі, що не витираються, наступні знаки:
a) номер ООН і належне відвантажувальне найменування газу або суміші газів, визначене відповідно до розділу 3.1.2.
У випадку газів, віднесених до якої-небудь позиції «Н.З.К.», крім номера ООН, необхідно вказувати тільки технічне найменування[3] газу.
У випадку сумішей необхідно вказувати не більше двох компонентів, що найбільшою мірою зумовлюють їх небезпечні властивості;
b) для стиснених газів, що завантажуються по масі, і для скраплених газів – максимальна маса наповнення й маса порожньої посудини з фітингами й пристосуваннями, наявними на посудині в момент наповнення, або маса брутто;
c) дата (рік) наступної періодичної перевірки.
Ці дані можуть бути або вигравірувані, або зазначені на міцній табличці або бирці, прикріпленій до посудини, або зазначені за допомогою добре видимого маркувального знака, що не витирається й що наноситься, наприклад, фарбою або будь-яким іншим еквівалентним способом.
ПРИМІТКА 1: Див. також підрозділ 6.2.2.7.
ПРИМІТКА 2: Відносно посудин одноразового використання див. підрозділ 6.2.2.8.
5.2.1.7 Спеціальні положення по маркуванню для радіоактивних матеріалів
5.2.1.7.1 Кожна упаковка повинна мати на зовнішній поверхні пакувального комплекту (тари) чіткі й стійкі маркувальні знаки із зазначенням або відправника вантажу, або вантажоодержувача, або й того й іншого. Кожний транспортний пакет повинен мати на зовнішній поверхні транспортного пакета чіткі й стійкі маркувальні знаки із зазначенням або відправника вантажу, або вантажоодержувача, або й того й іншого, якщо тільки ці маркувальні знаки не помітні чітко на всіх упаковках, що входять у даний транспортний пакет.
5.2.1.7.2 Стосовно до кожної упаковки, крім звільнених упаковок, на зовнішній поверхні пакувального комплекту повинно бути нанесене чітке й стійке маркування із зазначенням номера ООН, якому передують літери «UN», а також належного відвантажувального найменування. Звільнені упаковки повинні мати маркування відповідно до вимог пункту 5.1.5.4.1.
5.2.1.7.3 Кожна упаковка масою брутто більше 50 кг повинна мати на зовнішній поверхні тари чітке й стійке маркування із зазначенням її припустимої маси брутто.
5.2.1.7.4 Кожна упаковка, яка відповідає:
a) конструкції упаковки типу ПУ-1, упаковка типу ПУ-2 або упаковка типу ПУ-3, повинна мати на зовнішній стороні пакувального комплекту чітке й стійке маркування відповідно «ТИП ПУ-1» (TYPE IP-1), «ТИП ПУ-2» (TYPE IP-2) або «ТИП ПУ-3» (TYPE IP-3);
b) конструкція упаковки типу A, повинна мати на зовнішній стороні пакувального комплекту чітке й стійке маркування «ТИП A» (TYPE A);
c) конструкція упаковки типу ПУ-2, типу ПУ-3 або типу A, повинна мати на зовнішній стороні пакувального комплекту чітке й стійке маркування із зазначенням відмітного знаку, використовуваного на транспортних засобах, що перебувають у міжнародному дорожньому русі[4], країни походження конструкції й або найменування виробника, або іншої ідентифікації пакувального комплекту, визначеної компетентним органом країни походження конструкції.
5.2.1.7.5 Кожна упаковка, яка відповідає конструкції, що затверджена відповідно до одного або декількох положень пунктів 1.6.6.2.1, 5.1.5.2.1, 6.4.22.1–6.4.22.4 і 6.4.23.4–6.4.23.7, повинна мати на зовнішній поверхні упаковки чітке й стійке маркування, що містить наступну інформацію:
a) розпізнавальний знак, установлений компетентним органом для даної конструкції;
b) серійний номер для індивідуального позначення кожного пакувального комплекту, що відповідає даній конструкції;
c) для конструкції упаковки типу B(U), типу B(M) або типу С – написи «Тип B(U)», «Тип B(M)» або «Тип C».
5.2.1.7.6 Кожна упаковка, яка відповідає конструкції упаковок типу B(U), типу B(M) або типу C, повинна мати на зовнішній поверхні самої зовнішньої посудини, стійке до впливу вогню й води, чітке маркування, нанесене методом тиснення, штампування й іншим стійким до впливу вогню й води способом, із зображенням знака радіаційної небезпеки у вигляді трилисника, показаного на рисунку, що наводиться нижче.
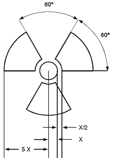
Основний знак радіаційної небезпеки у вигляді трилисника, пропорції якого визначаються по центральній окружності радіуса X. Мінімальна припустима величина X дорівнює 4 мм.

Будь-який маркувальний знак, нанесений на упаковки відповідно до вимог пунктів 5.2.1.7.4 a) і b) і 5.2.1.7.5 c), що стосуються типу упаковки, який не пов'язаний з номером ООН і належним відвантажувальним найменуванням, привласненими вантажу, видаляється або закривається.
5.2.1.7.7 Якщо матеріали LSA-I або об’єкти SCO-I містяться в посудинах або в пакувальних матеріалах і перевозяться на умовах виняткового використання згідно з положеннями пункту 4.1.9.2.4, на зовнішню поверхню цих посудин або пакувальних матеріалів може бути нанесений, відповідно, маркувальний знак «РАДІОАКТИВНО, LSA-I» (RADOIACTIVE LSA-I) або «РАДІОАКТИВНО, SCO‑ I» (RADOIACTIVE SCO‑ I).
5.2.1.7.8 У всіх випадках міжнародних перевезень упаковок, при яких потрібне затвердження конструкції або перевезення компетентним органом, коли можуть застосовуватися різні типи затвердження в різних країнах, що мають відношення до перевезення, маркування повинне бути відповідно до сертифікату країни походження конструкції.
5.2.1.8 Спеціальні положення, що стосуються маркування речовин, небезпечних для довкілля
5.2.1.8.1 На упаковках, що містять небезпечні для довкілля речовини, що відповідають критеріям, передбаченим у пункті 2.2.9.1.10, повинен наноситися довговічний маркувальний знак речовини, небезпечної для довкілля, який зображено в пункті 5.2.1.8.3, за винятком одиночної тари й комбінованої тари, коли в такій одиночній тарі або внутрішній тарі комбінованої тари міститься:
– кількість 5 л або менше у випадку рідин; або
– маса нетто 5 кг або менше у випадку твердих речовин.
5.2.1.8.2 Маркувальний знак речовини, небезпечної для довкілля, повинен бути розташований поруч із маркувальними знаками, вказаними в пункті 5.2.1.1. Повинні виконуватися вимоги пунктів 5.2.1.2 і 5.2.1.4.
5.2.1.8.3 Маркувальний знак речовини, небезпечної для довкілля, повинен бути таким, як показано на рис. 5.2.1.8.3.
Рис. 5.2.1.8.3

Маркувальний знак речовини, небезпечної для довкілля
Цей маркувальний знак повинен мати форму квадрата, поверненого під кутом 45º (у формі ромба). Символ (риба й дерево) повинен бути чорного кольору на білому або підходящому контрастному тлі. Мінімальні розміри − 100 мм х 100 мм, а мінімальна ширина лінії, що утворює контур ромба, − 2 мм. Якщо цього вимагають габарити упаковки, розміри/ширина лінії можуть бути зменшені за умови, що маркувальний знак залишається чітко видимим. Якщо розміри не зазначені, усі елементи повинні бути приблизно пропорційні зображеним елементам.
ПРИМІТКА: Крім будь-якої вимоги відносно нанесення на упаковку маркувального знака речовини, небезпечної для довкілля, застосовуються положення розділу 5.2.2, що стосуються нанесення знаків небезпеки.
5.2.1.9 Маркувальний знак літієвих батарей
5.2.1.9.1 Упаковки, що містять літієві елементи або батареї, підготовлені відповідно до спеціального положення 188 глави 3.3, повинні мати маркувальний знак, зображений на рис. 5.2.1.9.2.
5.2.1.9.2 На маркувальному знаку повинен бути зазначений номер ООН, якому передують літери «UN», тобто «UN 3090» для літій-металевих елементів або батарей або «UN 3480» для літій-іонних елементів або батарей. У тих випадках, коли літієві елементи або батареї містяться в обладнанні або впаковані з обладнанням, повинен бути зазначений номер ООН, якому передують літери «UN», тобто «UN 3091» або «UN 3481» відповідно. Якщо в упаковці містяться літієві елементи або батареї, віднесені до різних номерів ООН, усі застосовні номери ООН повинні бути зазначені на одному або декількох маркувальних знаках.
Рис. 5.2.1.9.2

Маркувальний знак літієвих батарей
* Місце для зазначення номера(ів) ООН.
Цей маркувальний знак повинен мати форму прямокутника або квадрата зі штрихованою окантовкою. Мінімальні розміри: ширина – 100 мм, висота – 100 мм; мінімальна ширина штрихування – 5 мм. Символ (група батарей, одна з яких ушкоджена й з неї виходить полум’я, над номером ООН для літій-іонних або літій-металевих батарей або елементів) повинен бути чорного кольору на білому тлі. Штрихування повинне бути червоного кольору. Якщо цього вимагають габарити упаковки, розміри лінії можуть бути зменшені до не менше 100 мм (ширина) × 70 мм (висота). Якщо розміри не зазначені, усі елементи повинні бути приблизно пропорційні зображеним елементам.
5.2.1.10 Стрілки, що вказують положення
5.2.1.10.1 Якщо в пункті 5.2.1.10.2 не передбачено інше:
a) комбінована тара із внутрішньою тарою, що містить рідини;
b) одиночна тара з вентиляційними отворами;
c) закриті або відкриті криогенні посудини, призначені для перевезення охолоджених скраплених газів;
d) машини або прилади, що містять рідкі небезпечні вантажі, коли потрібно забезпечити, щоб рідкі небезпечні вантажі залишалися в заданому положенні (див. спеціальне положення 301 глави 3.3),
повинні мати розбірливе маркування у вигляді стрілок, що вказують, у якому положенні повинна знаходитися упаковка, за аналогією з нижченаведеним рисунком, або стрілок, що відповідають технічним вимогам стандарту ISO 780:1997. Стрілки, що вказують положення упаковки, наносяться на дві протилежні вертикальні сторони упаковки й указують правильний вертикальний напрямок. Ці знаки повинні бути прямокутної форми й мати такі розміри, які дозволяють добре їх бачити з урахуванням розмірів упаковки. Прямокутна окантовка навколо стрілок є факультативною.
|
Рис. 5.2.1.10.1.1 |
Рис. 5.2.1.10.1.2 |
|
|
|
Або |
|
Дві чорні або червоні стрілки на білому або підходящому контрастному тлі.
Прямокутна окантовка є факультативною.
Усі елементи повинні бути приблизно пропорційні зображеним елементам.
5.2.1.10.2 Стрілки, що вказують положення, не потрібні на:
a) зовнішній тарі, що містить посудини під тиском, за винятком закритих або відкритих криогенних посудин;
b) зовнішній тарі, що містить небезпечні вантажі, поміщені у внутрішню тару, кожна одиниця якої містить не більше 120 мл, за наявності між внутрішньою й зовнішньою тарою абсорбувального матеріалу в кількості, якої достатньо для того, щоб повністю поглинути рідкий уміст;
c) зовнішній тарі, що містить інфекційні речовини класу 6.2, поміщені в первинні ємності, кожна з яких містить не більше 50 мл;
d) упаковках типу ПУ-2, типу ПУ-3, типу A, типу B(U), типу B(M) або типу C, у яких міститься радіоактивний матеріал класу 7;
e) зовнішній тарі, що містить вироби, що залишаються герметичними в будь-якому положенні (наприклад, спиртові або ртутні термометри, аерозолі і т.д.); або
f) зовнішній тарі, у яку поміщені небезпечні вантажі в герметично закритій внутрішній тарі, кожна одиниця якої містить не більше 500 мл.
5.2.1.10.3 На упаковку, маркіровану відповідно до цього підрозділу, не повинні наноситися стрілки, метою яких не є зазначення правильного положення упаковки.
5.2.2 Знаки небезпеки на упаковках
5.2.2.1 Положення, що стосуються нанесення знаків небезпеки
5.2.2.1.1 У випадку кожного виробу або речовини, наведеної в таблиці А глави 3.2, повинні наноситися знаки небезпеки, зазначені у стовпчику 5 цієї таблиці, якщо тільки спеціальним положенням, зазначеним у стовпчику, не передбачено інше.
5.2.2.1.2 Знаки можуть замінятися маркувальними знаками небезпеки, що не витираються й що точно відповідають приписаним зразкам.
5.2.2.1.3–5.2.2.1.5 (Зарезервовані)
5.2.2.1.6 За винятком випадків, коли застосовуються вимоги, передбачені в пункті 5.2.2.2.1.2, усі знаки:
a) повинні бути розміщені на одній і тій же самій поверхні упаковки, якщо розміри упаковки дозволяють зробити це; на упаковках з вантажами класу 1 і класу 7 вони повинні бути розміщені поруч із належним відвантажувальним найменуванням;
b) повинні бути розміщені на упаковці таким чином, щоб ніяка частина або компонент тари й ніякий інший знак або інші маркувальні знаки не закривали й не загороджували їх; і
c) якщо потрібно більше одного знака – повинні бути розміщені поруч один з одним.
Якщо упаковка має неправильну форму або малі розміри, які не дозволяють задовільним чином розмістити на ній знак небезпеки, то в цьому випадку знак може бути нанесений на упаковку за допомогою міцно прикріпленої етикетки або іншим придатним способом.
5.2.2.1.7 На контейнерах середньої вантажопідйомності для масових вантажів місткістю більше 450 л, великогабаритній тарі знаки повинні розміщатися на двох протилежних бічних сторонах.
5.2.2.1.8 (Зарезервовано)
5.2.2.1.9 Спеціальні положення, що стосуються знаків небезпеки для самореактивних речовин і органічних пероксидів
a) Знак зразка № 4.1 також вказує на те, що даний продукт може бути легкозаймистим, і тому наносити знак зразка № 3 не потрібно. Крім того, для самореактивних речовин типу В потрібне нанесення знака зразка № 1, якщо тільки компетентний орган не дозволив не розміщати цей знак на конкретній тарі на тій підставі, що, згідно з результатами випробувань, дана самореактивна речовина в такій тарі не проявляє вибухових властивостей.
b) Знак зразка № 5.2 також вказує на те, що даний продукт може бути легкозаймистим, і тому наносити знак зразка № 3 не потрібно. Крім того, повинні застосовуватися наступні знаки:
i) знак зразка № 1 потрібен для органічних пероксидів типу B, якщо тільки компетентний орган не дозволив не розміщати цей знак на конкретній тарі на тій підставі, що, згідно з результатами випробувань, даний органічний пероксид у такій тарі не проявляє вибухових властивостей;
ii) знак зразка № 8 потрібен в тому випадку, якщо речовина відповідає критеріям класу 8 для групи упакування I або II.
Для самореактивних речовин і органічних пероксидів, перелічених за найменуванням, знаки, які слід розміщати на упаковках, зазначені в переліках, наведених відповідно в пунктах 2.2.41.4 і 2.2.52.4.
5.2.2.1.10 Спеціальні положення, що стосуються знаків небезпеки для упаковок із інфекційними речовинами
На додаток до знака зразка № 6.2 на упаковках з інфекційними речовинами повинні бути всі інші знаки небезпеки, які потрібні з урахуванням властивостей умісту.
5.2.2.1.11 Спеціальні положення, що стосуються знаків небезпеки для радіоактивних матеріалів
5.2.2.1.11.1 Крім випадків, коли використовуються збільшені знаки небезпеки відповідно до пункту 5.3.1.1.3, кожна упаковка, кожний транспортний пакет і кожний контейнер, що містять радіоактивний матеріал, повинні мати знаки небезпеки згідно із застосовними зразками № 7А, 7В або 7С відповідно до належної категорії. Знаки небезпеки повинні кріпитися до двох протилежних зовнішніх поверхонь упаковки або транспортного пакета або до зовнішніх поверхонь усіх чотирьох сторін контейнера або цистерни. Крім того, кожна упаковка, кожний транспортний пакет і кожний контейнер, що містять подільний матеріал, крім подільного матеріалу звільненого відповідно до положень пункту 2.2.7.2.3.5, повинні мати знаки небезпеки, які відповідають зразку № 7E; такі знаки небезпеки в належних випадках повинні кріпитися поруч зі знаками небезпеки, які відповідають застосовним зразкам № 7А, 7В або 7С. Ці знаки небезпеки не повинні закривати маркувальні знаки, зазначені в розділі 5.2.1. Будь-які знаки небезпеки, не пов’язані із умістом, видаляються або закриваються.
5.2.2.1.11.2 На кожному знаку небезпеки, відповідному до застосовних зразків № 7A, 7B або 7C, повинна бути зазначена наступна інформація:
a) Уміст:
i) назва(и) радіонукліда(ів), узята(і) з таблиці 2.2.7.2.2.1, з використанням рекомендованого там символу, за винятком матеріалу LSA-I. У випадку сумішей радіонуклідів повинні бути зазначені, наскільки це дозволяє розмір рядка, нукліди, щодо яких діють найбільші обмеження. Після назви (назв) радіонукліда(ів) повинна бути зазначена група LSA або SCO. Для цієї цілі повинні використовуватися терміни «LSA-II», «LSA-III», «SCO-I» і «SCO-II»;
ii) для матеріалів LSA-I достатньо тільки терміна «LSA-I»; назви радіонукліда не потрібно.
b) Активність: максимальна активність радіоактивного вмісту під час перевезення, виражена в бекерелях (Бк) з відповідним позначенням приставки СІ (див. пункт 1.2.2.1). Для подільного матеріалу замість активності може бути зазначена загальна маса подільних нуклідів у грамах (г) або кратних граму одиницях.
c) У випадку транспортних пакетів і контейнерів записи в графах «уміст» і «активність» на знаку небезпеки повинні містити інформацію, що вимагається згідно з положеннями відповідно до підпунктів a) і b) вище й підсумовану по всьому умісту транспортного пакета або контейнера, однак на знаках для транспортних пакетів або контейнерів, що містять змішане завантаження упаковок із різними радіонуклідами, може робитися запис «Див. транспортні документи».
d) Транспортний індекс: число визначається відповідно до пунктів 5.1.5.3.1 і 5.1.5.3.2 (за винятком категорії I–БІЛА).
5.2.2.1.11.3 На кожний знак, який відповідає зразку № 7E, повинен бути нанесений індекс безпеки з критичності (CSI), як зазначено у видаваному компетентним органом сертифікаті про затвердження, застосовний у країнах, через територію або на територію яких перевозиться даний вантаж, або як зазначено в пункті 6.4.11.2 або 6.4.11.3.
5.2.2.1.11.4 У випадку транспортних пакетів і контейнерів на знаку, відповідному до зразка № 7E, повинен бути зазначений сумарний індекс безпеки з критичності всіх упаковок, що містяться в них.
5.2.2.1.11.5 У всіх випадках міжнародних перевезень упаковок, при яких потрібне затвердження конструкції або перевезення компетентним органом, коли можуть застосовуватися різні типи затверджень у різних країнах, що мають відношення до перевезення, знаки небезпеки повинні бути відповідно до сертифікату країни походження конструкції.
5.2.2.1.12 Спеціальні положення, що стосуються знаків небезпеки для виробів, що містять небезпечні вантажі, які перевозяться під № ООН 3537, 3538, 3539, 3540, 3541, 3542, 3543, 3544, 3545, 3546, 3547 і 3548
5.2.2.1.12.1 На упаковки з виробами або на вироби, що перевозяться в не упакованому вигляді, повинні наноситися знаки небезпеки відповідно до підрозділу 5.2.2.1 види, що вказують на види небезпеки, визначені згідно з розділом 2.1.5, за тим винятком, що для виробів, що містять, крім того, літієві батареї, нанесення маркувального знака літієвих батарей або знака небезпеки зразка № 9А не потрібно.
5.2.2.1.12.2 Коли потрібно забезпечити, щоб вироби, що містять рідкі небезпечні вантажі, залишалися в заданому положенні, щонайменше на дві протилежні вертикальні сторони упаковки або не упакованого виробу, де це можливо, повинні наноситися й бути видимими стрілки, що вказують положення, відповідно до пункту 5.2.1.10.1, при цьому стрілки повинні вказувати правильний вертикальний напрямок.».
5.2.2.2 Положення небезпеки, що стосуються знаків
5.2.2.2.1 Знаки небезпеки повинні задовольняти наведеним нижче положенням і повинні – за кольором, символами і загальною формою – відповідати зразкам, наведеним у пункті 5.2.2.2.2. Відповідні зразки знаків, необхідні для інших видів транспорту, з незначними змінами, які не стосуються очевидного значення знака, також є прийнятними.
ПРИМІТКА: У деяких випадках знаки, зазначені в пункті 5.2.2.2.2, зображені з пунктирним зовнішнім контуром відповідно до пункту 5.2.2.2.1.1. Цей контур не потрібен, якщо знак розташовується на контрастному тлі.
5.2.2.2.1.1 Знаки небезпеки повинні мати конфігурацію, показану на рис. 5.2.2.2.1.1.
Рис. 5.2.2.2.1.1

Знак небезпеки класу/підкласу
* У нижньому куті повинен бути зазначений номер класу, або, у випадку класів 4.1, 4.2 і 4.3, цифра «4», або, у випадку класів 6.1 і 6.2, цифра «6».
** У нижній половині повинні (якщо це обов’язково) або можуть (якщо це факультативно) бути зазначені додатковий текст/номера/символ/літери.
*** У верхній половині повинні бути зазначені символ класу або, у випадку підкласів 1.4, 1.5 і 1.6, номер підкласу й, у випадку зразка № 7E, слово «ПОДІЛЬНИЙ» (FISSILE).
5.2.2.2.1.1.1 Знаки небезпеки розташовуються на контрастному тлі або обводяться пунктирним або суцільним зовнішнім контуром.
5.2.2.2.1.1.2 Знак небезпеки повинен мати форму квадрата, поверненого під кутом 45° (у формі ромба). Мінімальні розміри − 100 мм x 100 мм. Із внутрішньої сторони кромки ромба повинна проходити лінія, яка повинна бути паралельна внутрішній стороні кромки знака й відступати від неї приблизно на 5 мм. У верхній половині знака лінія, що проходить із внутрішньої сторони кромки, повинна бути такого ж кольору, як і символ, а в нижній половині знака вона повинна бути такого ж кольору, як і номер класу або підкласу, зазначений у нижньому куті. Якщо розміри не зазначені, усі елементи повинні бути приблизно пропорційні показаним елементам.
5.2.2.2.1.1.3 Якщо цього вимагають габарити упаковки, розміри можуть бути пропорційно зменшені за умови, що символи й інші елементи знака залишаються чітко видимими. У випадку балонів розміри повинні відповідати вимогам пункту 5.2.2.2.1.2.
5.2.2.2.1.2 Балони для газів класу 2 можуть – з урахуванням їх форми, розташування й захисних пристроїв, передбачених для цілей перевезення, – мати знаки, що повторюють знаки, зазначені в цьому розділі, і у відповідних випадках маркувальний знак речовини, небезпечної для довкілля, однак зменшені до розмірів, зазначених у стандарті ISO 7225:2005 «Газові балони – Попереджувальні знаки», для цілей їх нанесення на нециліндричну (звужену) частину цих балонів.
ПРИМІТКА: Коли діаметр балона занадто малий, щоб знаки зменшеного розміру можна було розмістити на нециліндричній верхній частині балона, знаки зменшеного розміру можуть бути розміщені на циліндричній частині.
Незважаючи на положення пункту 5.2.2.1.6, знаки небезпеки й маркувальний знак речовини, небезпечної для довкілля (див. пункт 5.2.1.8.3), можуть перекривати один одного в тій мірі, у якій це допускається стандартом ISO 7225:2005. Однак у всіх випадках знак основної небезпеки й цифри на будь-якому знаку повинні бути повністю видними й символи повинні бути помітними.
Неочищені порожні посудини під тиском для газів класу 2 можуть перевозитися, маючи застарілі або ушкоджені знаки, для цілей наступного наповнення або перевірки, залежно від конкретного випадку, і нанесення нового знака відповідно до чинних правил або для видалення посудини під тиском.
5.2.2.2.1.3 За винятком знаків для підкласів 1.4, 1.5 і 1.6 класу 1, у верхній половині знака повинен зазначатися символ, а в нижній половині:
a) у випадку класів 1, 2, 3, 5.1, 5.2, 7, 8 і 9 – номер класу;
b) у випадку класів 4.1, 4.2 і 4.3 – цифра «4»;
c) у випадку класів 6.1 і 6.2 – цифра «6».
Однак у випадку знака зразка № 9А у верхній половині знака повинно бути лише сім вертикальних смуг символу, а в нижній половині повинна бути зображена група батарей символу й зазначений номер класу.
За винятком знаків зразка № 9A, на знаках небезпеки може бути наведений текст, наприклад номер ООН або слова, що описують вид небезпеки (наприклад, «легкозаймиста речовина») відповідно до пункту 5.2.2.2.1.5, за умови що текст не закриває інші необхідні елементи знака й не відволікає від них увагу.
5.2.2.2.1.4 Крім того, за винятком підкласів 1.4, 1.5 і 1.6, у нижній половині знаків небезпеки для класу 1 над номером класу вказуються номер підкласу й літера групи сумісності речовини або виробу. Для підкласів 1.4, 1.5 і 1.6 у верхній половині знака вказується номер підкласу, а в нижній – номер класу й літера групи сумісності.
5.2.2.2.1.5 На знаках небезпеки, крім знаків для матеріалів класу 7, зміст факультативного тексту під символом (крім номера класу) повинен обмежуватися тільки зазначенням виду небезпеки й запобіжних заходів, які слід вживати при обробці вантажу.
5.2.2.2.1.6 Символ, текст і цифри повинні бути чітко видимими, такими, що не витираються, та повинні бути чорного кольору на всіх знаках, окрім:
а) знаків для класу 8, де текст (якщо такий є) і номер класу повинні бути білого кольору;
b) знаків з повністю зеленим, червоним або синім тлом, де вони можуть бути білого кольору;
c) знаків для класу 5.2, де символ може бути білого кольору; і
d) знаків зразка № 2.1 на балонах і газових балончиках для скраплених нафтових газів, де вони можуть бути розміщені безпосередньо на самій посудині, якщо колір її поверхні забезпечує достатньо контрастне тло.
5.2.2.2.1.7 Усі знаки повинні витримувати вплив будь-яких погодних умов без істотного погіршення їх якості.
5.2.2.2.2 Зразки знаків небезпеки
|
№ зразка знака небезпеки |
Підклас або категорія |
Символ і колір символу |
Тло |
Цифра в нижньому куті (і колір цифри) |
Зразки знаків небезпеки |
Примітка |
|
Небезпека класу 1: Вибухові речовини або вироби |
||||||
|
1 |
Підкласи 1.1, 1.2 і 1.3 |
Бомба, що вибухає: чорний |
Оранжевий |
1 (чорний) |
|
** Місце для позначення підкласу – залишається незаповненим, якщо видом додаткової небезпеки є вибухонебезпечність * Місце для позначення групи сумісності – залишається незаповненим, якщо видом додаткової небезпеки є вибухонебезпечність |
|
1.4 |
Підклас 1.4 |
1.4: чорний Числові позначення повинні бути висотою близько 30 мм і товщиною близько 5 мм (для знака небезпеки розміром 100 мм × 100 мм) |
Оранжевий |
1 (чорний) |
|
* Місце для позначення групи сумісності |
|
1.5 |
Підклас 1.5 |
1.5: чорний Числові позначення повинні бути висотою близько 30 мм і товщиною близько 5 мм (для знака небезпеки розміром 100 мм × 100 мм) |
Оранжевий |
1 (чорний) |
|
* Місце для позначення групи сумісності |
|
1.6 |
Підклас 1.6 |
1.6: чорний Числові позначення повинні бути висотою близько 30 мм і товщиною близько 5 мм (для знака небезпеки розміром 100 мм × 100 мм) |
Оранжевий |
1 (чорний) |
|
* Місце для позначення групи сумісності |
|
Небезпека класу 2: Гази |
||||||
|
2.1 |
Займисті гази |
Полум’я: чорний або білий (за винятком випадків, передбачених у пункті 5.2.2.2.1.6 d)) |
Червоний |
2 (чорний або білий) (за винятком випадків, передбачених у пункті 5.2.2.2.1.6 d)) |
|
– |
|
2.2 |
Незаймисті, нетоксичні гази |
Газовий балон: чорний або білий |
Зелений |
2 (чорний або білий) |
|
– |
|
2.3 |
Токсичні гази |
Череп і схрещені кістки: чорний |
Білий |
2 (чорний) |
|
– |
|
Небезпека класу 3: Легкозаймисті рідини |
||||||
|
3 |
– |
Полум’я: чорний або білий |
Червоний |
3 (чорний або білий) |
|
– |
|
Небезпека класу 4.1: Легкозаймисті тверді речовини, самореактивні речовини, тверді десенсибілізовані вибухові речовини й речовини, що полімеризуються |
||||||
|
4.1 |
– |
Полум’я: чорний |
Білий з 7 вертикальними червоними смугами |
4 (чорний) |
|
– |
|
Небезпека класу 4.2: Речовини, здатні до самозаймання |
||||||
|
4.2 |
– |
Полум’я: чорний |
Верхня половина біла, нижня – червона |
4 (чорний) |
|
– |
|
Небезпека класу 4.3: Речовини, що виділяють займисті гази при стиканні з водою |
||||||
|
4.3 |
–– |
Полум’я: чорний або білий |
Синій |
4 (чорний або білий) |
|
– |
|
Небезпека класу 5.1: Окиснювальні речовини |
||||||
|
5.1 |
–– |
Полум’я над окружністю: чорний |
Жовтий |
5.1 (чорний) |
|
– |
|
Небезпека класу 5.2: Органічні пероксиди |
||||||
|
5.2 |
– |
Полум’я: чорний або білий |
Верхня половина червона, нижня – жовта |
5.2 (чорний) |
|
– |
|
Небезпека класу 6.1: Токсичні речовини |
||||||
|
6.1 |
– |
Череп і схрещені кістки: чорний |
Білий |
6 (чорний) |
|
– |
|
Небезпека класу 6.2: Інфекційні речовини |
||||||
|
6.2 |
– |
Три півмісяці, накладені на окружність: чорний |
Білий |
6 (чорний) |
|
У нижній половині знака можуть бути написи чорного кольору: «ІНФЕКЦІЙНА РЕЧОВИНА» і «У випадку ушкодження або витоку негайно повідомити органи охорони здоров’я» |
|
Небезпека класу 7: Радіоактивні матеріали |
||||||
|
7A |
Категорія I – БІЛА |
Трилисник: чорний |
Білий |
7 (чорний) |
|
Текст (обов’язковий), чорний у нижній половині знака: «RADIOACTIVE» «CONTENTS…» «ACTIVITY…» За словом «РАДІОАКТИВНО» повинна йти одна червона вертикальна смуга |
|
7B |
Категорія II – ЖОВТА |
Трилисник: чорний |
Верхня половина – жовта з білою окантовкою, нижня – біла |
7 (чорний) |
|
Текст (обов’язковий), чорний у нижній половині знака: «RADIOACTIVE» «CONTENTS…» «ACTIVITY…» У чорному прямокутнику: «TRANSPORT INDEX»; За словом «RADIOACTIVE» повинні йти дві червоні вертикальні смуги |
|
7C |
Категорія III – ЖОВТА |
Трилисник: чорний |
Верхня половина – жовта з білою окантовкою, нижня – біла |
7 (чорний) |
|
Текст (обов’язковий), чорний у нижній половині знака: «RADIOACTIVE» «CONTENTS…» «ACTIVITY…» У чорному прямокутнику: «TRANSPORT INDEX». За словом «RADIOACTIVE» повинні йти три червоні вертикальні смуги |
|
7E |
Подільний матеріал |
– |
Білий |
7 (чорний) |
|
Текст (обов’язковий), чорний у верхній половині знака: «FISSILE» У чорному прямокутнику в нижній половині знака: «CRITICALITY SAFETY INDEX» |
|
Небезпека класу 8: Корозійні речовини |
||||||
|
8 |
– |
Рідина, що виливається із двох пробірок і вражає руку або метал: чорний |
Верхня половина біла, нижня – чорна з білою окантовкою |
8 (білий) |
|
– |
|
Небезпека класу 9: Інші небезпечні речовини й вироби |
||||||
|
9 |
– |
7 вертикальних смуг у верхній половині: чорний7 вертикальних смуг у верхній половині: чорний |
Білий |
Підкреслена цифра «9» (чорний) |
|
– |
|
9A |
– |
7 вертикальних смуг у верхній половині: чорний; у нижній половині – група батарей, одна з яких ушкоджена й з неї виходить полум’я: чорний |
Білий |
Підкреслена цифра «9» (чорний) |
|
– |
ПРИМІТКА 1: Відносно положень, що стосуються розміщення маркування й великих знаків небезпеки на контейнерах, контейнерах для масових вантажів, БЕГК, контейнерах-цистернах і переносних цистернах для перевезення в транспортному ланцюзі, що включає морське перевезення, див. також пункт 1.1.4.2.1. У випадку застосування положень пункту 1.1.4.2.1 с) застосовуються лише пункти 5.3.1.3 і 5.3.2.1.1 цієї глави.
ПРИМІТКА 2: Відповідно до ПГС піктограма ПГС, яка не потрібна згідно з ДОПНВ, під час перевезення повинна наноситися тільки в якості складеної частини повного маркування відповідно до ПГС, але не самостійно (див. пункт 1.4.10.4.4 ПГС).
5.3.1 Розміщення великих знаків небезпеки
5.3.1.1 Загальні положення
5.3.1.1.1 Якщо це потрібно відповідно до положень цього розділу, на зовнішній поверхні контейнерів, контейнерів для масових вантажів, БЕГК, MEMU, контейнерів-цистерн, переносних цистерн і транспортних засобів повинні розміщатися великі знаки небезпеки. Великі знаки небезпеки повинні відповідати знакам небезпеки, вказаним у стовпчику 5 і, за необхідності, у стовпчику таблиці А глави 3.2 для небезпечних вантажів, що містяться в контейнері, контейнері для масових вантажів, БЕГК, MEMU, контейнері-цистерні, переносній цистерні або транспортному засобі, і повинні задовольняти технічним вимогам, викладеним у підрозділі 5.3.1.7. Великі знаки небезпеки розташовуються на контрастному тлі й обводяться пунктирним або суцільним зовнішнім контуром. Великі знаки небезпеки повинні бути атмосферостійкими й забезпечувати довговічність маркування протягом усього рейсу.
5.3.1.1.2 У випадку вантажів класу 1 групи сумісності не повинні вказуватися на великих знаках небезпеки, якщо на транспортному засобі, у контейнері або спеціальних відділеннях MEMU перевозяться речовини або вироби, що відносяться до двох або більше груп сумісності. Транспортні засоби, контейнери або спеціальні відділення MEMU, у яких перевозяться речовини або вироби різних підкласів, повинні мати лише великі знаки небезпеки, що відповідають зразку для найнебезпечнішого підкласу в такому порядку:
1.1 ( найнебезпечніший), 1.5, 1.2, 1.3, 1.6, 1.4 (найменш небезпечний).
Під час перевезення речовин підкласу 1.5D разом з речовинами або виробами підкласу 1.2 на транспортній одиниці або контейнері повинні бути встановлені великі знаки небезпеки, що відповідають підкласу 1.1.
Великі знаки небезпеки не потрібні для перевезення вибухових речовин або виробів підкласу 1.4, група сумісності S.
5.3.1.1.3 У випадку класу 7 великий знак основної небезпеки повинен відповідати зразку № 7D, опис якого наведено в пункті 5.3.1.7.2. Цей великий знак небезпеки не потрібен для транспортних засобів або контейнерів, що перевозять звільнені упаковки, або для малих контейнерів.
Якщо потрібно, щоб на транспортних засобах, контейнерах, БЕГК, контейнерах-цистернах або переносних цистернах були й знаки небезпеки й великі знаки небезпеки, передбачені для класу 7, то замість великого знаку небезпеки зразка № 7D може бути нанесений знак небезпеки збільшених розмірів, що служить обом цілям і що відповідає необхідному знаку зразка № 7А, 7В або 7С. У цьому випадку розміри знака повинні бути не менше 250 мм х 250 мм.
5.3.1.1.4 У випадку класу 9 великий знак небезпеки повинен відповідати знаку зразка № 9, наведеному в пункті 5.2.2.2.2; знак зразка № 9А не повинен використовуватися для цілей розміщення великих знаків небезпеки.
5.3.1.1.5 На контейнерах, БЕГК, MEMU, контейнерах-цистернах, переносних цистернах або транспортних засобах, що містять вантажі, віднесені до більше ніж одного класу, немає необхідності розміщати великий знак додаткової небезпеки, якщо небезпека, представлена на цьому великому знаку небезпеки, вже зазначена на великому знаку основної або додаткової небезпеки.
5.3.1.1.6 Великі знаки небезпеки, що не відносяться до небезпечних вантажів, що перевозяться, або їх залишків, повинні бути вилучені або закриті.
5.3.1.1.7 Коли великі знаки небезпеки розміщаються на приладах з відкидними щитками, останні повинні бути сконструйовані й закріплені таким чином, щоб виключалася будь-яка можливість їх відкидання або відриву від кріплення під час перевезення (зокрема, у результаті ударів або ненавмисних дій).
5.3.1.2 Розміщення великих знаків небезпеки на контейнерах, контейнерах для масових вантажів, БЕГК, контейнерах-цистернах і переносних цистернах
ПРИМІТКА: Цей підрозділ не застосовується до знімних кузовів, за винятком знімних кузовів-цистерн або знімних кузовів, використовуваних у комбінованих автомобільно-залізничних перевезеннях.
Великі знаки небезпеки повинні розміщатися на обох бічних сторонах і на кожній торцевій стороні контейнера, контейнера для масових вантажів, БЕГК, контейнера-цистерни або переносної цистерни й на двох протилежних сторонах у випадку м'яких контейнерів для масових вантажів.
Коли контейнер-цистерна або переносна цистерна мають кілька секцій і в них перевозяться два небезпечні вантажі або більше, належні великі знаки небезпеки повинні бути розміщені на кожній бічній стороні в місці розташування відповідних секцій, і один великий знак небезпеки кожного зразка, наявний на кожній бічній стороні, повинен бути розміщений на обох торцевих сторонах. Якщо для всіх секцій потрібні одні й ті самі великі знаки небезпеки, ці великі знаки небезпеки можуть бути розміщені по одному на кожній бічній стороні й на обох торцевих сторонах контейнера-цистерни або переносної цистерни.
5.3.1.3 Розміщення великих знаків небезпеки на транспортних засобах, що перевозять контейнери, контейнери для масових вантажів, БЕГК, контейнери-цистерни або переносні цистерни
ПРИМІТКА: Цей підрозділ не застосовується до розміщення великих знаків небезпеки на транспортних засобах, що перевозять знімні кузови, за винятком знімних кузовів-цистерн або знімних кузовів, використовуваних у комбінованих автомобільно-залізничних перевезеннях; відносно транспортних засобів див. підрозділ 5.3.1.5.
Якщо великі знаки небезпеки, прикріплені до контейнерів, контейнерів для масових вантажів, БЕГК, контейнерів-цистерн або переносних цистерн, не помітні зовні транспортних засобів, що їх перевозять, то такі ж самі великі знаки небезпеки повинні також прикріплюватися до обох бічних сторін і позаду транспортного засобу. У протилежному випадку розміщати великий знак небезпеки на транспортному засобі не потрібно.
5.3.1.4 Розміщення великих знаків небезпеки на транспортних засобах, що перевозять вантажі насипом/навалом, автоцистернах, транспортних засобах-батареях, MEMU і транспортних засобах зі знімними цистернами
5.3.1.4.1 Великі знаки небезпеки повинні розміщатися на обох бічних сторонах і позаду транспортного засобу.
Коли автоцистерна або знімна цистерна, що перевозиться на транспортному засобі, мають кілька секцій і в них перевозяться два небезпечні вантажі або більше, належні великі знаки небезпеки повинні бути розміщені на кожній бічній стороні в місці розташування відповідних секцій і один великий знак небезпеки кожного зразка, наявний на кожній бічній стороні, повинен бути розміщений на задній стороні транспортного засобу. Якщо для всіх секцій потрібні одні й ті самі великі знаки небезпеки, ці великі знаки небезпеки повинні бути розміщені по одному на кожній бічній стороні й на задній стороні транспортного засобу.
Якщо для однієї й тієї ж секції потрібно більше одного великого знаку небезпеки, ці великі знаки небезпеки повинні бути розміщені поруч один з одним.
ПРИМІТКА: Якщо в ході або наприкінці перевезення, здійснюваного відповідно до ДОПНВ, напівпричіп-цистерна відділяється від тягача й вантажиться на борт корабля або судна внутрішнього плавання, великі знаки небезпеки повинні також установлюватися попереду напівпричепа.
5.3.1.4.2 На MEMU із цистернами й контейнерами для масових вантажів великі знаки небезпеки для речовин, що містяться в них, повинні розміщатися відповідно до пункту 5.3.1.4.1. У випадку цистерн місткістю менше 1 000 л великі знаки небезпеки можуть замінятися знаками відповідно до підрозділу 5.2.2.2.
5.3.1.4.3 У випадку MEMU, що перевозять упаковки, які містять речовини або вироби класу 1 (за винятком підкласу 1.4, група сумісності S), великі знаки небезпеки повинні бути прикріплені до обох бічних сторін і позаду MEMU.
На спеціальних відділеннях для вибухових речовин великі знаки небезпеки повинні розміщатися відповідно до положень пункту 5.3.1.1.2. Остання вимога пункту 5.3.1.1.2 не застосовується.
5.3.1.5 Розміщення великих знаків небезпеки на транспортних засобах, що перевозять тільки упаковки
ПРИМІТКА: Цей підрозділ застосовується також до транспортних засобів, що перевозять знімні кузови, завантажені упаковками, крім випадків комбінованих автомобільно-залізничних перевезень; у відношенні комбінованих автомобільно-залізничних перевезень див. пункти 5.3.1.2 і 5.3.1.3.
5.3.1.5.1 У випадку транспортних засобів, що перевозять упаковки з речовинами або виробами класу 1 (за винятком підкласу 1.4, група сумісності S), великі знаки небезпеки повинні бути прикріплені до обох бічних сторін і позаду транспортного засобу.
5.3.1.5.2 У випадку транспортних засобів, що перевозять радіоактивні матеріали класу 7 у тарі або КСМ (за винятком звільнених упаковок), великі знаки небезпеки повинні бути прикріплені до обох бічних сторін і позаду транспортного засобу.
5.3.1.6 Розміщення великих знаків небезпеки на порожніх автоцистернах, транспортних засобах-батареях, БЕГК, MEMU, контейнерах-цистернах, переносних цистернах, а також на порожніх транспортних засобах і контейнерах для перевезення вантажів навалом/насипом
5.3.1.6.1 На порожніх автоцистернах, транспортних засобах зі знімними цистернами, транспортних засобах-батареях, БЕГК, MEMU, контейнерах-цистернах і переносних цистернах, що не пройшли очищення й дегазацію, а також на порожніх транспортних засобах і контейнерах для перевезення вантажів навалом/насипом, що не пройшли очищення, повинні як і раніше бути великі знаки небезпеки, що вимагалися для вантажу, що раніше перевозився.
5.3.1.7 Технічні вимоги до великих знаків небезпеки
5.3.1.7.1 За винятком випадків, передбачених у пункті 5.3.1.7.2 відносно великих знаків небезпеки для класу 7 і в пункті 5.3.6.2 відносно маркувального знака речовини, небезпечної для довкілля, великий знак небезпеки повинен мати конфігурацію, показану на рис. 5.3.1.7.1.
Рис. 5.3.1.7.1

Великий знак небезпеки (за винятком класу 7)
Цей великий знак небезпеки повинен мати форму квадрата, поверненого під кутом 45º (у формі ромба). Мінімальні розміри − 250 мм х 250 мм (до кромки великого знаку небезпеки). Лінія, що проходить із внутрішньої сторони кромки великого знаку небезпеки, повинна бути паралельна їй і відступати від неї на 12,5 мм. Символ і лінія, що проходить із внутрішньої сторони кромки, повинні бути такого ж самого кольору, як і знак небезпеки класу або підкласу небезпечного вантажу, що перевозиться. Символ/номер класу або підкласу повинен бути розташований і мати пропорційні розміри відповідно до вимог підрозділу 5.2.2.2 для відповідного класу або підкласу небезпечного вантажу, що перевозиться. На великому знаку небезпеки повинен бути зазначений номер класу або підкласу (а для вантажів класу 1 − літера групи сумісності) небезпечного вантажу, що перевозиться способом, вказаним у підрозділі 5.2.2.2 для відповідного знака небезпеки, за допомогою цифр висотою не менше 25 мм. Якщо розміри не зазначені, усі елементи повинні бути приблизно пропорційні зображеним елементам. Винятки для знаків небезпеки, зазначених у другому реченні пункту 5.2.2.2.1, останньому абзаці пункту 5.2.2.2.1.3 і пункті 5.2.2.2.1.5, також застосовуються до великих знаків небезпеки.
5.3.1.7.2 Для класу 7 великий знак небезпеки повинен мати мінімальні розміри 250 мм × 250 мм і чорну лінію, що проходить в 5 мм усередину від кромки й паралельно їй, а в усіх інших параметрах воно повинне відповідати зразку, показаному нижче (зразок № 7D). Висота цифри «7» повинна бути не менше 25 мм. Колір тла верхньої половини великого знаку небезпеки повинен бути жовтим, а нижньої половини – білим, колір трилисника й друкованих знаків повинен бути чорним. Використання слова «РАДІОАКТИВНО» («RADIOACTIVE») у нижній половині є факультативним, що дозволяє застосовувати цей великий знак небезпеки для зображення відповідного номера ООН вантажу.
Великий знак небезпеки для радіоактивних матеріалів класу 7

(№ 7D) Символ (трилисник): чорний; тло: верхня половина – жовта з білою окантовкою, нижня – біла; у нижній половині повинне бути слово «RADIOACTIVE» або у якості альтернативи відповідний номер ООН; у нижньому куті − цифра «7»
5.3.1.7.3 У випадку цистерн місткістю не більше 3 м3 і малих контейнерів великі знаки небезпеки можуть бути замінені знаками небезпеки, що відповідають зразкам, наведеним у підрозділі 5.2.2.2. Якщо ці знаки не помітні зовні транспортного засобу, що перевозить вантаж, великі знаки небезпеки, які відповідають вимогам пункту 5.3.1.7.1, повинні також прикріплюватися до обох бічних сторін і позаду транспортного засобу.
5.3.1.7.4 У випадку класів 1 і 7, якщо розміри й конструкція транспортного засобу такі, що наявна поверхня не дозволяє прикріпити приписані великі знаки небезпеки, їх розміри можуть бути зменшені до 100 мм із кожної сторони.
5.3.2 Маркування у вигляді табличок оранжевого кольору
5.3.2.1 Загальні положення, що стосуються маркування у вигляді табличок оранжевого кольору
5.3.2.1.1 Транспортні одиниці, що перевозять небезпечні вантажі, повинні мати дві розташовані у вертикальній площині прямокутні таблички оранжевого кольору, що відповідають положенням пункту 5.3.2.2.1. Одна з цих табличок повинна кріпитися попереду, а інша − позаду транспортної одиниці, причому обидві – перпендикулярно поздовжній осі транспортної одиниці. Вони повинні бути добре помітні.
Якщо причіп, у якому містяться небезпечні вантажі, відчеплений від автомобіля, що його буксирує, у ході перевезення небезпечних вантажів, табличка оранжевого кольору повинна залишатися прикріпленою позаду причепа. У випадку цистерн, маркірованих відповідно до пункту 5.3.2.1.3, ця табличка повинна відповідати найнебезпечнішій з речовин, що перевозяться у цистерні.
5.3.2.1.2 Якщо у стовпчику 20 таблиці А глави 3.2 зазначений ідентифікаційний номер небезпеки, автоцистерни, транспортні засоби-батареї або транспортні одиниці з однієї або декількома цистернами, у яких перевозяться небезпечні вантажі, повинні, крім того, мати на бічних сторонах кожної цистерни, кожної секції цистерни або кожного елемента транспортних засобів-батарей добре помітні й розташовані паралельно поздовжній осі транспортного засобу таблички оранжевого кольору, ідентичні табличкам, вказаним у пункті 5.3.2.1.1. На цих табличках оранжевого кольору повинні бути зазначені ідентифікаційний номер небезпеки й номер ООН, приписані відповідно в стовпчиках 20 і 1 таблиці А глави 3.2 для кожної з речовин, що перевозяться у цистерні, у секції цистерни або в елементі транспортного засобу-батареї. У випадку MEMU ці вимоги застосовуються тільки до цистерн місткістю 1 000 л або більше і до контейнерів для масових вантажів.
5.3.2.1.3 До автоцистерн або транспортних одиниць із однією або декількома цистернами, у яких перевозяться речовини з № ООН 1202, 1203 або 1223 або авіаційне паливо, віднесене до № ООН 1268 або 1863, але не перевозиться ніяка інша небезпечна речовина, не обов’язково прикріплювати таблички оранжевого кольору, приписані в пункті 5.3.2.1.2, якщо на табличках, прикріплених попереду й позаду відповідно до пункту 5.3.2.1.1, зазначені ідентифікаційний номер небезпеки й номер ООН, приписані для найнебезпечнішої з речовин, що перевозяться, тобто для речовини з найнижчою температурою спалаху.
5.3.2.1.4 Якщо у стовпчику 20 таблиці А глави 3.2 зазначений ідентифікаційний номер небезпеки, то на бічних сторонах кожного транспортного засобу, кожного контейнера й кожного контейнера для масових вантажів, у яких перевозяться не упаковані тверді речовини або вироби або впаковані радіоактивні матеріали з одним номером ООН, які повинні перевозитися на умовах виняткового використання, і не перевозяться ніякі інші небезпечні вантажі, повинні, крім того, бути добре помітні й розташовані паралельно повздовжній осі транспортного засобу таблички оранжевого кольору, ідентичні табличкам, вказаним у пункті 5.3.2.1.1. На цих табличках оранжевого кольору повинні бути зазначені ідентифікаційний номер небезпеки й номер ООН, приписані відповідно в стовпчиках 20 і 1 таблиці А глави 3.2 для кожної з речовин, що перевозяться навалом/насипом у транспортному засобі, контейнері або контейнері для масових вантажів, або для впакованих радіоактивних матеріалів, коли потрібне їх перевезення на умовах виняткового використання в транспортній одиниці або в контейнері.
5.3.2.1.5 Якщо приписані в пунктах 5.3.2.1.2 і 5.3.2.1.4 таблички оранжевого кольору, прикріплені до контейнерів, контейнерів для масових вантажів, контейнерів-цистерн, БЕГК або переносних цистерн, нечітко помітні зовні транспортного засобу, що перевозить їх, то такі ж таблички повинні також прикріплюватися до обох бічних сторін транспортного засобу.
ПРИМІТКА: Даний пункт необов'язково застосовувати до транспортних засобів, що перевозять контейнери для перевезення навалом/насипом, цистерни і БЕГК максимальною місткістю 3000 л.
5.3.2.1.6 У випадку транспортних одиниць, що перевозять тільки одну небезпечну речовину й що не перевозять безпечні речовини, таблички оранжевого кольору, приписані в пунктах 5.3.2.1.2, 5.3.2.1.4 і 5.3.2.1.5, необов’язкові, за умови що на табличках, прикріплених попереду й позаду відповідно до пункту 5.3.2.1.1, зазначені ідентифікаційний номер небезпеки й номер ООН, приписані для цієї речовини, відповідно в стовпчиках 20 і 1 таблиці А глави 3.2.
5.3.2.1.7 Вимоги пунктів 5.3.2.1.1–5.3.2.1.5 застосовуються також до порожніх вбудованих або знімних цистерн, транспортних засобів-батарей, контейнерів-цистерн, переносних цистерн і БЕГК, що не пройшли очищення, дегазацію або дезактивацію, до неочищених MEMU, а також до порожніх транспортних засобів і контейнерів для перевезення вантажів навалом/насипом, що не пройшли очищення або дезактивацію.
5.3.2.1.8 Таблички оранжевого кольору, що не відносяться до небезпечних вантажів, що перевозяться, або їх залишків, повинні бути зняті або закриті. Якщо таблички закриті, то покриття повинне бути суцільним і повинне залишатися ефективним після перебування у вогні протягом 15 хвилин.
5.3.2.2 Технічні вимоги до табличок оранжевого кольору
5.3.2.2.1 Таблички оранжевого кольору повинні бути світловідбивними й повинні мати 400 мм в основі, а їх висота повинна становити 300 мм; вони повинні мати чорну окантовку шириною 15 мм. Використовуваний матеріал повинен бути атмосферостійким і забезпечувати довговічність маркування. Табличка не повинна відділятися від її кріплення у випадку перебування у вогні протягом 15 хвилин. Табличка повинна залишатися прикріпленою незалежно від положення транспортного засобу. Таблички оранжевого кольору можуть бути розділені посередині горизонтальною лінією чорного кольору шириною 15 мм.
Якщо розміри й конструкція транспортного засобу такі, що наявна площа поверхні не дозволяє прикріпити ці таблички оранжевого кольору, то довжина їх основи може бути зменшена до не менше 300 мм, висота – до не менше 120 мм, а ширина чорної окантовки – до не менше 10 мм. У цьому випадку для двох табличок оранжевого кольору, зазначених у пункті 5.3.2.1.1, може використовуватися інший набір розмірів у зазначених межах.
Коли таблички оранжевого кольору зменшених розмірів використовуються для впакованого радіоактивного матеріалу, що перевозиться на умовах виняткового використання, необхідно вказати тільки номер ООН і висота цифр, вказана в пункті 5.3.2.2.2, може бути зменшена до 5 мм, а ширина ліній – до 10 мм.
У випадку контейнерів, у яких перевозяться навалом/насипом небезпечні тверді речовини, й у випадку контейнерів-цистерн, БЕГК й переносних цистерн таблички, вказані у пунктах 5.3.2.1.2, 5.3.2.1.4 й 5.3.2.1.5, можуть замінятися етикеткою, що сама клеїться, фарбою або будь-яким іншим рівноцінним маркуванням. Це альтернативне маркування повинне відповідати технічним вимогам, викладеним у цьому підрозділі, за винятком положень, що стосуються вогнестійкості, наведених у пунктах 5.3.2.2.1 і 5.3.2.2.2.
ПРИМІТКА: Оранжевий колір табличок в умовах нормального використання повинен мати координати кольоровості, що лежать у полі діаграми кольоровості, обмеженої наступними координатами:
|
Координати кольоровості точок, розташованих по кутах поля діаграми |
||||
|
х |
0,52 |
0,52 |
0,578 |
0,618 |
|
y |
0,38 |
0,40 |
0,422 |
0,38 |
Коефіцієнт яскравості світоловідбиваючого кольору: β > 0,12.
Умовний центр Е, стандартне джерело кольору С, нормальний кут падіння світла 45, кут зору 0°.
Коефіцієнт сили кольору при куті висвітлення 5° і куті зору 0,2°: мінімум 20 свіч на 1 люкс на 1 м2.
5.3.2.2.2 Ідентифікаційний номер небезпеки й номер ООН повинні складатися із цифр чорного кольору висотою 100 мм і шириною ліній 15 мм. Номер ООН повинен вказуватися в нижній частині таблички, а ідентифікаційний номер небезпеки – у верхній. Вони повинні розділятися чорною горизонтальною лінією шириною 15 мм, що перетинає табличку на половині висоти (див. пункт 5.3.2.2.3). Ідентифікаційний номер небезпеки й номер ООН повинні бути такими, що не витираються, й залишатися розбірливими після перебування у вогні протягом 15 хвилин. Розміщені на табличках замінні цифри й літери, що складають ідентифікаційний номер небезпеки або номер ООН, повинні залишатися на своєму місці під час перевезення незалежно від положення транспортного засобу.
5.3.2.2.3 Приклад таблички оранжевого кольору з ідентифікаційним номером небезпеки й номером ООН
|
Ідентифікаційний номер небезпеки (2 або 3 цифри, перед якими у відповідних випадках проставляється літера «Х»; див. підрозділ 5.3.2.3) |
Номер ООН (4 цифри) |
Тло – оранжеве.
Окантовка, поперечна смуга й цифри – чорного кольору із шириною ліній 15 мм.
5.3.2.2.4 Для кожного розміру, зазначеного в цьому підрозділі, передбачається допуск ± 10%.
5.3.2.2.5 Коли таблички оранжевого кольору розміщаються на пристроях з відкидними щитками, останні повинні бути сконструйовані й закріплені таким чином, щоб виключалася будь-яка можливість їх відкидання або відриву від кріплення під час перевезення (зокрема, у результаті ударів або ненавмисних дій).
5.3.2.3 Значення ідентифікаційних номерів небезпеки
5.3.2.3.1 Ідентифікаційний номер небезпеки складається з двох або трьох цифр. Як правило, цифри позначають наступні види небезпеки:
2 Виділення газу в результаті тиску або хімічної реакції
3 Займистість рідин (пар) й газів або рідини, що самонагрівається
4 Займистість твердих речовин або твердої речовини, що самонагрівається
5 Окиснювальний ефект (ефект інтенсифікації горіння)
6 Токсичність або небезпека інфекції
7 Радіоактивність
8 Корозійна активність
9 Небезпека мимовільної бурхливої реакції
ПРИМІТКА: Небезпека мимовільної бурхливої реакції за значенням цифри 9 включає обумовлену властивостями речовини можливу небезпеку реакції вибуху, розпаду й полімеризації, що супроводжується вивільненням значної кількості тепла й займистих і/або токсичних газів.
Подвоєння цифри позначає посилення відповідного виду небезпеки.
Якщо для зазначення небезпеки, властивої речовині, достатньо однієї цифри, після цієї цифри ставиться нуль.
Однак наступні комбінації цифр мають особливе значення: 22, 323, 333, 362, 382, 423, 44, 446, 462, 482, 539, 606, 623, 642, 823, 842, 90 і 99, див. пункт 5.3.2.3.2 нижче.
Якщо перед ідентифікаційним номером небезпеки стоїть літера «Х», то це означає, що дана речовина вступає в небезпечну реакцію з водою. У випадку цих речовин вода може використовуватися лише з дозволу експертів.
Для речовин класу 1 у якості ідентифікаційного номера небезпеки повинен використовуватися класифікаційний код, зазначений у стовпчику 3 b) таблиці А глави 3.2. Класифікаційний код складається з:
– номера підкласу відповідно до пункту 2.2.1.1.5; і
– літери групи сумісності відповідно до пункту 2.2.1.1.6.
5.3.2.3.2 Ідентифікаційні номери небезпеки, перелічені у стовпчику 20 таблиці А глави 3.2, мають наступні значення:
20 задушливий газ або газ, що не становить додаткової небезпеки
22 охолоджений скраплений газ, задушливий
223 охолоджений скраплений газ, займистий
225 охолоджений скраплений газ, окиснювальний (що інтенсифікує горіння)
23 займистий газ
238 займистий газ, корозійний
239 займистий газ, здатний мимовільно вести до бурхливої реакції
25 окиснювальний (що інтенсифікує горіння) газ
26 токсичний газ
263 токсичний газ, займистий
265 токсичний газ, окиснювальний (що інтенсифікує горіння)
268 токсичний газ, корозійний
28 корозійний газ
30 легкозаймиста рідина (температура спалаху 23 °С–60 °С, включаючи граничні значення) або легкозаймиста рідина або тверда речовина у розплавленому стані з температурою спалаху вище 60 °С, розігріта до температур, що дорівнює або перевищує їх температуру спалаху, або рідина, що самонагрівається
323 легкозаймиста рідина, що реагує з водою з виділенням займистих газів
Х323 легкозаймиста рідина, що небезпечно реагує з водою з виділенням займистих газів1
33 легкозаймиста рідина (температура спалаху нижче 23 °С)
333 пірофорна рідина
Х333 пірофорна рідина, що небезпечно реагує з водою1
336 сильнозаймиста рідина, токсична
338 сильнозаймиста рідина, корозійна
Х338 сильнозаймиста рідина, корозійна, що небезпечно реагує з водою1
339 сильнозаймиста рідина, здатна мимовільно вести до бурхливої реакції
36 легкозаймиста рідина (температура спалаху 23 °С–60 °С, включаючи граничні значення), слаботоксична, або рідина, що самонагрівається
362 легкозаймиста рідина, токсична, що реагує з водою з виділенням займистих газів
Х362 легкозаймиста токсична рідина, що небезпечно реагує з водою з виділенням займистих газів1
368 легкозаймиста рідина, токсична, корозійна
38 легкозаймиста рідина (температура спалаху 23 °С–60 °С, включаючи граничні значення), слабокорозійна, або рідина, що самонагрівається
382 легкозаймиста рідина, корозійна, що реагує з водою з виділенням займистих газів
Х382 легкозаймиста рідина, корозійна, що небезпечно реагує з водою з виділенням займистих газів1
39 легкозаймиста рідина, здатна мимовільно вести до бурхливої реакції
40 легкозаймиста тверда речовина, або самореактивна речовина, або речовина, що самонагрівається, або
423 тверда речовина, що реагує з водою з виділенням займистих газів, або легкозаймиста тверда речовина, що реагує з водою з виділенням займистих газів, або тверда речовина, що самонагрівається, що реагує з водою
Х423 тверда речовина, що небезпечно реагує з водою з виділенням займистих газів, або легкозаймиста тверда речовина, що небезпечно реагує з водою з виділенням займистих газів, або тверда речовина, що самонагрівається, що небезпечно реагує з водою з виділенням займистих газів
43 тверда речовина, здатна до самозаймання (пірофорна)
Х432 тверда речовина, здатна до самозаймання (пірофорна), що небезпечно реагує з водою з виділенням займистих газів1
44 легкозаймиста тверда речовина в розплавленому стані при високій температурі
446 легкозаймиста тверда речовина, токсична, у розплавленому стані при високій температурі
46 легкозаймиста або тверда речовина, що самонагрівається
462 токсична тверда речовина, що реагує з водою з виділенням займистих газів
Х462 тверда речовина, що небезпечно реагує з водою з виділенням займистих газів1
48 легкозаймиста або тверда речовина, що самонагрівається
482 корозійна тверда речовина, що реагує з водою з виділенням займистих газів
Х482 тверда речовина, що небезпечно реагує з водою з виділенням займистих газів1
50 окиснювальна (що інтенсифікує горіння) речовина
539 легкозаймистий органічний пероксид
55 сильноокиснювальна (що інтенсифікує горіння) речовина
556 сильноокиснювальна (що інтенсифікує горіння) речовина, токсична
558 сильноокиснювальна (що інтенсифікує горіння) речовина, корозійна
559 сильноокиснювальна (що інтенсифікує горіння) речовина, здатна мимовільно вести до бурхливої реакції
56 окиснювальна речовина (що інтенсифікує горіння), токсична
568 окиснювальна речовина (що інтенсифікує горіння), токсична, корозійна
58 окиснювальна речовина (що інтенсифікує горіння), корозійна
59 окиснювальна речовина (що інтенсифікує горіння), здатна мимовільно вести до бурхливої реакції
60 токсична або слаботоксична речовина
606 інфекційна речовина
623 токсична рідина, що реагує з водою з виділенням займистих газів
63 токсична речовина, легкозаймиста (температура спалаху 23 °С −60 °С, включаючи граничні значення)
638 токсична речовина, легкозаймиста (температура спалаху 23 °С −60 °С, включаючи граничні значення), корозійна
639 токсична речовина, легкозаймиста (температура спалаху не вище 60 °С), здатна мимовільно вести до бурхливої реакції
64 токсична тверда речовина, легкозаймиста або,
642 токсична тверда речовина, що реагує з водою з виділенням займистих газів
65 токсична окиснювальна речовина (що інтенсифікує горіння)
66 сильнотоксична речовина
663 сильнотоксична речовина, легкозаймиста (температура спалаху не вище 60 °С)
664 сильнотоксична речовина, легкозаймиста або, що самонагрівається
665 сильнотоксична окиснювальна речовина (що інтенсифікує горіння)
668 сильнотоксична речовина, корозійна
Х668 сильнотоксична речовина, корозійна, що небезпечно реагує з водою1
669 сильнотоксична речовина, здатна мимовільно вести до бурхливої реакції
68 токсична речовина, корозійна
69 токсична або слаботоксична речовина, здатна мимовільно вести до бурхливої реакції
70 радіоактивний матеріал
768 радіоактивний матеріал, токсичний і корозійний
78 радіоактивний матеріал, корозійний
80 корозійна або слабокорозійна речовина
Х80 корозійна або слабокорозійна речовина, що небезпечно реагує з водою1
823 корозійна рідина, що реагує з водою з виділенням займистих газів
83 корозійна або слабокорозійна речовина, легкозаймиста (температура спалаху 23 °С–60 °С, включаючи граничні значення)
Х83 корозійна або слабокорозійна речовина, легкозаймиста (температура спалаху 23 °С–60 °С, включаючи граничні значення), що небезпечно реагує з водою1
836 Корозійна або слабокорозійна речовина, легкозаймиста (температура спалаху 23 °С–60 °С, включаючи граничні значення) і токсична.
839 корозійна або слабокорозійна речовина, легкозаймиста (температура спалаху 23 °С–60 °С, включаючи граничні значення), здатна мимовільно вести до бурхливої реакції
Х839 корозійна або слабокорозійна речовина, легкозаймиста (температура спалаху 23 °С–60 °С, включаючи граничні значення), здатна мимовільно вести до бурхливої реакції й що небезпечно реагує з водою1
84 корозійна тверда речовина, легкозаймиста або, що самонагрівається
842 корозійна тверда речовина, що реагує з водою з виділенням займистих газів
85 корозійна або слабокорозійна окиснювальна речовина (що інтенсифікує горіння)
856 корозійна або слабокорозійна окиснювальна речовина (що інтенсифікує горіння) і токсична
86 корозійна або слабокорозійна речовина, токсична
88 сильнокорозійна речовина
Х88 сильнокорозійна речовина, що небезпечно реагує з водою1
883 сильнокорозійна речовина, легкозаймиста (температура спалаху 23 °С–60 °С, включаючи граничні значення)
884 сильнокорозійна тверда речовина, легкозаймиста або, що самонагрівається
885 сильнокорозійна окиснювальна речовина (що інтенсифікує горіння)
886 сильнокорозійна речовина, токсична
Х886 сильнокорозійна речовина, токсична, що небезпечно реагує з водою1
89 корозійна або слабокорозійна речовина, здатна мимовільно вести до бурхливої реакції
90 небезпечна для довкілля речовина; інші небезпечні речовини
99 інші небезпечні речовини, що перевозяться при високій температурі.
5.3.3 Маркувальний знак для речовин, що перевозяться при високій температурі
Автоцистерни, контейнери-цистерни, переносні цистерни, спеціальні транспортні засоби або контейнери або спеціально обладнані транспортні засоби або контейнери, що містять речовину, яка перевозиться або пред’являється до перевезення в рідкому стані при температурі, що дорівнює або перевищує 100 ºС, або у твердому стані при температурі, що дорівнює або перевищує 240 ºС, повинні мати на обох бічних сторонах і позаду, у випадку транспортних засобів, і на обох бічних сторонах і на кожній торцевій стороні, у випадку контейнерів, контейнерів-цистерн і переносних цистерн, маркувальний знак, зображений на рис. 5.3.3.
Рис. 5.3.3

Маркувальний знак для речовин, що перевозяться при високій температурі
Цей маркувальний знак повинен мати форму рівностороннього трикутника. Колір маркувального знака повинен бути червоним. Мінімальний розмір сторін повинен бути 250 мм. У випадку контейнерів-цистерн або переносних цистерн місткістю не більше 3 000 літрів, у яких наявна площа поверхні недостатня для розміщення вказаних маркувальних знаків, мінімальний розмір сторін може бути зменшений до 100 мм. Якщо розміри не зазначені, усі елементи повинні бути приблизно пропорційні зображеним елементам. Маркувальний знак повинен бути атмосферостійким і забезпечувати довговічність маркування протягом усього рейсу.
5.3.4 (Зарезервовано)
5.3.5 (Зарезервовано)
5.3.6 Маркувальний знак речовини, небезпечної для довкілля
5.3.6.1 Якщо відповідно до положень розділу 5.3.1 потрібне розміщення великого знаку небезпеки, на контейнери, контейнери для масових вантажів,БЕГК, контейнери-цистерни, переносні цистерни й транспортні засоби, що містять небезпечні для довкілля речовини, що відповідають критеріям, передбаченим у пункті 2.2.9.1.10, повинен бути нанесений маркувальний знак речовини, небезпечної для довкілля, зображений у пункті 5.2.1.8.3. Це положення не застосовується до винятків, передбачених у пункті 5.2.1.8.1.
5.3.6.2 Маркувальний знак речовини, небезпечної для довкілля, що наноситься на контейнери, контейнери для масових вантажів, БЕГК, контейнери-цистерни, переносні цистерни й транспортні засоби, повинен бути таким, як зазначено в пункті 5.2.1.8.3 і показано на рис. 5.2.1.8.3, за тим винятком, що мінімальні розміри повинні становити 250 мм x 250 мм. У випадку контейнерів-цистерн або переносних цистерн місткістю не більше 3 000 літрів, у яких наявна площа поверхні недостатня для розміщення вказаних маркувальних знаків, мінімальні розміри можуть бути зменшені до 100 мм × 100 мм. Інші положення розділу 5.3.1, що стосуються великих знаків небезпеки, повинні застосовуватися до цього маркувального знака з відповідними змінами.
5.4.0 Загальні положення
5.4.0.1 Якщо не обговорено інше, усі вантажі, перевезення яких регламентується ДОПНВ, повинні супроводжуватися належними документами, вказаними в цій главі.
ПРИМІТКА: Перелік документів, які повинні знаходитися на транспортних одиницях, див. у розділі 8.1.2.
5.4.0.2 Застосування методів електронної обробки інформації (ЕОІ) або електронного обміну даними (ЕОД) на додаток до документації, виконаної на папері, або замість неї дозволяється, за умови, що процедури, використовувані для збору, зберігання й обробки електронних даних, принаймні тією ж самою мірою, що й документація, виконана на папері, задовольняють юридичним вимогам відносно доказової цінності й наявності даних у ході перевезення.
5.4.0.3 Коли інформація, що стосується перевезення небезпечних вантажів, передається перевізнику методом ЕОІ або ЕОД, відправник вантажу повинен мати змогу негайно надати цю інформацію у вигляді документа, виконаного на папері, з інформацією, зазначеною в послідовності, необхідній відповідно до цієї глави.
5.4.1 Транспортний документ на небезпечні вантажі й пов’язана з ним інформація
5.4.1.1 Загальна інформація, що вказується в транспортному документі
5.4.1.1.1 Транспортний(і) документ(и) на небезпечні вантажі повинен (повинні) містити наступні елементи інформації з кожної небезпечної речовини, матеріалу або виробу, що пред’являється до перевезення:
a) номер ООН, якому передують літери «UN»;
b) належне відвантажувальне найменування, визначене відповідно до розділу 3.1.2, доповнене, за необхідності (див. пункт 3.1.2.8.1), технічним найменуванням, взятим у дужки (див. пункт 3.1.2.8.1.1);
c) – для речовин і виробів класу 1: класифікаційний код, зазначений у стовпчику 3b таблиці А глави 3.2.
Якщо у стовпчику 5 таблиці А глави 3.2 наведені номери зразків знаків небезпеки, що не є номерами зразків 1, 1.4, 1.5 і 1.6, то ці номери зразків знаків небезпеки повинні вказуватися після класифікаційного коду в дужках;
– для радіоактивних матеріалів класу 7: номер класу «7»;
ПРИМІТКА: Відносно радіоактивних матеріалів з додатковою небезпекою див. також спеціальне положення 172 у главі 3.3.
– для літієвих батарей під № ООН 3090, 3091, 3480 і 3481: номер класу «9»;
– для інших речовин і виробів: номера зразків знаків небезпеки, які зазначено у стовпчику 5 таблиці А глави 3.2 або застосовні відповідно до спеціального положення, зазначеного у стовпчику. Якщо зазначено кілька номерів зразків, то номера зразків, які йдуть за першим номером, повинні бути взяті в дужки. У випадку речовин і виробів, для яких у стовпчику 5 таблиці А глави 3.2 не вказано який-небудь зразок знака, необхідно замість цього вказати номер їх класу, наведений у стовпчику 3а;
d) якщо вона призначена, група упакування речовини, якій можуть передувати літери «ГУ» (наприклад, «ГУ II») або початкові літери, що відповідають словам «група упакування» на мовах, використовуваних відповідно до пункту 5.4.1.4.1;
ПРИМІТКА: Відносно радіоактивних матеріалів класу 7 з додатковими видами небезпеки див. спеціальне положення 172 d) у главі 3.3.
е) кількість і опис упаковок, коли застосовно. Коди транспортної тари ООН можуть використовуватися лише на додаток до опису виду упаковки (наприклад, один ящик (4G));
ПРИМІТКА: Номер, тип і місткість кожної внутрішньої тари в зовнішній тарі комбінованої тари вказувати не потрібно.
f) загальна кількість кожного небезпечного вантажу, що має окремий номер ООН, належне відвантажувальне найменування або групу упакування, якщо така призначена (об’єм або маса брутто або маса нетто, залежно від конкретного випадку);
ПРИМІТКА 1: Якщо передбачається застосування підрозділу 1.1.3.6, загальна кількість і розраховане значення небезпечних вантажів для кожної транспортної категорії повинні вказуватися в транспортному документі відповідно до пунктів 1.1.3.6.3 і 1.1.3.6.4.
ПРИМІТКА 2 : У випадку небезпечних вантажів у механізмах або обладнанні, що згадуються в цьому додатку, повинна вказуватися загальна кількість небезпечних вантажів, що містяться в них, у кілограмах або літрах залежно від конкретного випадку.
g) найменування й адреса відправника вантажу;
h) найменування й адреса вантажоодержувача(ів). За згодою компетентних органів країн, що зачіпаються перевезенням, у тих випадках, коли небезпечні вантажі перевозяться з метою доставки численним вантажоодержувачам, які не можуть бути ідентифіковані на початку перевезення, замість цього може бути зроблений запис «Продаж з доставкою»;
i) декларація, що вимагається відповідно до положень будь-якої спеціальної угоди;
j) (Зарезервовано)
k) у випадку перевезення, що включає проїзд через тунелі, у відношенні яких застосовуються обмеження на перевезення небезпечних вантажів, – код обмеження проїзду через тунелі, зазначений у стовпчику 15 таблиці А глави 3.2 великими літерами в круглих дужках, або знак «(–)», або як зазначено в спеціальних умовах згідно з пунктом 1.7.4.2.
Місце й порядок зазначення необхідних елементів інформації в транспортному документі є факультативними, однак елементи a), b), c) d) і k) повинні вказуватися в тому порядку, у якому вони перелічені вище (тобто a), b), c), d), k)), без якої-небудь додаткової інформації, якщо в ДОПНВ не передбачено інше.
Прикладами таких дозволених описів небезпечних вантажів є:
«UN 1098 СПИРТ АЛІЛОВИЙ, 6.1 (3), I, (C/D)» або «UN 1098 СПИРТ АЛІЛОВИЙ, 6.1 (3), ГУ I, (C/D)».
5.4.1.1.2 Записи в транспортному документі, що містять необхідну інформацію, повинні бути розбірливими.
Незважаючи на те що в главі 3.1 і в таблиці А глави 3.2 для зазначення елементів, які повинні бути частиною належного відвантажувального найменування, використовуються великі літери, а в цій главі елементи інформації, які повинні бути внесені в транспортний документ, за винятком положень пункту 5.4.1.1.1 k), надруковані великими й малими літерами, вибір великих або малих літер для зазначення цієї інформації в транспортному документі може бути вільним.
5.4.1.1.3 Спеціальні положення, що стосуються відходів
5.4.1.1.3.1 Якщо перевозяться відходи, що містять небезпечні вантажі (за винятком радіоактивних відходів), то перед належним відвантажувальним найменуванням повинне бути включене слово «ВІДХОДИ», якщо тільки цей термін не є частиною належного відвантажувального найменування, наприклад:
«UN 1230 ВІДХОДИ, МЕТАНОЛ, 3 (6.1), II, (D/E)» або «UN 1230 ВІДХОДИ, МЕТАНОЛ, 3 (6.1), ГУ II, (D/E)», або «UN 1993 ВІДХОДИ, ЛЕГКОЗАЙМИСТА РІДИНА, Н.З.К. (толуол і спирт етиловий), 3, II, (D/E)», або «UN 1993 ВІДХОДИ, ЛЕГКОЗАЙМИСТА РІДИНА, Н.З.К. (толуол і спирт етиловий), 3, ГУ II, (D/E)».
Якщо застосовується положення, що стосується відходів, викладене в пункті 2.1.3.5.5, то до опису небезпечних вантажів згідно з пунктом 5.4.1.1.1 a)–d) і k) повинні бути додані наступні слова:
«ВІДХОДИ ВІДПОВІДНО ДО ПУНКТУ 2.1.3.5.5» (наприклад, «ООН 3264, КОРОЗІЙНА РІДИНА КИСЛА НЕОРГАНІЧНА, Н.З.К., 8, II, (E), ВІДХОДИ ВІДПОВІДНО ДО ПУНКТУ 2.1.3.5.5»).
Технічне найменування, вказане в главі 3.3, спеціальне положення 274 можна не додавати.
5.4.1.1.3.2 Якщо неможливо виміряти точну кількість відходів у місці навантаження, то кількість згідно з пунктом 5.4.1.1.1 f) може бути оцінена для таких випадків за таких умов:
a) для тари в транспортний документ додається перелік тари із зазначенням типу і номінального об’єму;
b) для контейнерів оцінка ґрунтується на їх номінальному об’ємі та іншій наявній інформації (наприклад, тип відходів, середня щільність, ступінь наповнення);
c) для вакуумних цистерн для відходів оцінка обґрунтовується (наприклад, за допомогою оцінки вантажовідправника або на основі показників обладнання транспортного засобу).
Така оцінка кількості не допускається у разі:
– винятків, для яких точна кількість має істотне значення (наприклад, підрозділ 1.1.3.6);
– відходів, що містять речовини, згадані в пункті 2.1.3.5.3, або речовини класу 4.3;
– цистерн, крім вакуумних цистерн для відходів.
У транспортному документі повинно бути зроблено такий запис:
«КІЛЬКІСТЬ, НА ПІДСТАВІ ОЦІНКИ ЗГІДНО З ПУНКТОМ 5.4.1.1.3.2».
5.4.1.1.4 (Виключено)
5.4.1.1.5 Спеціальні положення, що стосуються аварійної тари, включаючи великогабаритну аварійну тару, й аварійних посудин під тиском
Якщо небезпечні вантажі перевозяться в аварійній тарі відповідно до підрозділу 4.1.1.19, включаючи великогабаритну аварійну тару, тару більш великих розмірів або великогабаритну тару відповідного типу та належного рівня міцності, використовувану як аварійна тара, то після опису вантажу в транспортному документі повинні бути додані слова «АВАРІЙНА ТАРА».
Якщо небезпечні вантажі перевозяться в аварійних посудинах під тиском відповідно до підрозділу 4.1.1.20, то після опису вантажу в транспортному документі повинні бути додані слова «АВАРІЙНА ПОСУДИНА ПІД ТИСКОМ».
5.4.1.1.6 Спеціальні положення, що стосуються неочищених порожніх засобів утримання вантажу
5.4.1.1.6.1 У випадку неочищених порожніх засобів утримання вантажу, що містять залишки небезпечних вантажів будь-якого класу, за винятком класу 7, перед або після опису небезпечних вантажів, вказаного в пункті 5.4.1.1.1 а)–d) і k), повинні бути включені слова «ПОРОЖНІЙ НЕОЧИЩЕНИЙ» або «ЗАЛИШКИ, ОСТАННІЙ ВАНТАЖ». Крім того, положення пункту 5.4.1.1.1 f) не застосовуються.
5.4.1.1.6.2 Спеціальне положення пункту 5.4.1.1.6.1 може бути замінене, залежно від конкретного випадку, положеннями пунктів 5.4.1.1.6.2.1, 5.4.1.1.6.2.2 або 5.4.1.1.6.2.3.
5.4.1.1.6.2.1 У випадку неочищеної порожньої тари, що містить залишки небезпечних вантажів будь-якого класу, за винятком класу 7, включаючи неочищені порожні посудини для газів місткістю не більше 1 000 л, відомості, передбачені в пунктах 5.4.1.1.1 а), b), c), d), e) і f), заміняються, у залежності від конкретного випадку, словами «ПОРОЖНЯ ТАРА», «ПОРОЖНЯ ПОСУДИНА», «ПОРОЖНІЙ КСМ» або «ПОРОЖНЯ ВЕЛИКОГАБАРИТНА ТАРА», за якими повинна вказуватися інформація про останній вантаж, що перевозився, зазначена в пункті 5.4.1.1.1 с).
Див. наступний приклад: «ПОРОЖНЯ ТАРА, 6.1 (3)».
Крім того, у такому випадку:
a) якщо останній завантажений небезпечний вантаж є вантажем класу 2, інформація, вказана в пункті 5.4.1.1.1 с), може замінятися номером класу «2»;
b) якщо останній завантажений небезпечний вантаж є вантажем класів 3, 4.1, 4.2, 4.3, 5.1, 5.2, 6.1, 8 або 9, інформація про останній завантажений вантаж, вказана в пункті 5.4.1.1.1 с), може бути замінена словами «ІЗ ЗАЛИШКАМИ […]», після яких вказуються клас(и) і додатковий(і) вид(и) небезпеки, що відповідають різним залишкам, у порядку зростання номера класу.
Приклад:
Порожню неочищену тару, у якій містилися вантажі класу 3, що перевозиться разом з порожньою неочищеною тарою, у якій містилися вантажі класу 8 з додатковою небезпекою класу 6.1, можна вказувати в транспортному документі в такий спосіб:
«ПОРОЖНЯ ТАРА ІЗ ЗАЛИШКАМИ 3, 6.1, 8».
5.4.1.1.6.2.2 У випадку неочищених порожніх засобів утримання, крім тари, що містить залишки небезпечних вантажів будь-якого класу, за винятком класу 7, а також у випадку неочищених порожніх посудин для газів місткістю більше 1 000 л, відомостям, передбаченим у пунктах 5.4.1.1.1 а)–d) і k), повинні передувати, залежно від конкретного випадку, слова «ПОРОЖНЯ АВТОЦИСТЕРНА», «ПОРОЖНЯ ЗНІМНА ЦИСТЕРНА», «ПОРОЖНІЙ КОНТЕЙНЕР-ЦИСТЕРНА», «ПОРОЖНЯ ПЕРЕНОСНА ЦИСТЕРНА», «ПОРОЖНІЙ ТРАНСПОРТНИЙ ЗАСІБ-БАТАРЕЯ», «ПОРОЖНІЙ БЕГК», «ПОРОЖНЯ MEMU», «ПОРОЖНІЙ ТРАНСПОРТНИЙ ЗАСІБ», «ПОРОЖНІЙ КОНТЕЙНЕР» або «ПОРОЖНЯ ПОСУДИНА», за якими повинні вказуватися слова «ОСТАННІЙ ВАНТАЖ:». Крім того, положення пункту 5.4.1.1.1 f) не застосовуються.
Див. наступні приклади:
«ПОРОЖНЯ АВТОЦИСТЕРНА, ОСТАННІЙ ВАНТАЖ: UN 1098 СПИРТ АЛІЛОВИЙ, 6.1 (3), I, (C/D)» або
«ПОРОЖНЯ АВТОЦИСТЕРНА, ОСТАННІЙ ВАНТАЖ: UN 1098 СПИРТ АЛІЛОВИЙ, 6.1 (3), ГУ I, (C/D)».
5.4.1.1.6.2.3 Коли неочищені порожні засоби втримання, що містять залишки небезпечних вантажів будь-якого класу, за винятком класу 7, повертаються відправнику вантажу, можуть також використовуватися накладні/транспортні документи, підготовлені для перевезення цих засобів утримання, коли вони були заповнені даними вантажами. У таких випадках відомості про кількість повинні бути видалені (шляхом їх стирання, закреслювання або будь-яким іншим способом) і замінені словами «ПОРОЖНІЙ, НЕОЧИЩЕНЕ ПОВЕРНЕННЯ».
5.4.1.1.6.3 а) Якщо порожні неочищені цистерни, транспортні засоби-батареї й БЕГК перевозяться до найближчого місця, де вони можуть бути очищені або відремонтовані відповідно до положень пункту 4.3.2.4.3, то в транспортному документі повинен бути зроблений наступний додатковий запис: «Перевезення відповідно до пункту 4.3.2.4.3».
b) Якщо порожні неочищені транспортні засоби й контейнери перевозяться до найближчого місця, де вони можуть бути очищені або відремонтовані відповідно до положень пункту 7.5.8.1, то в транспортному документі повинен бути зроблений наступний додатковий запис: «Перевезення відповідно до пункту 7.5.8.1».
5.4.1.1.6.4 У випадку перевезення вбудованих цистерн (автоцистерн), знімних цистерн, транспортних засобів-батарей, контейнерів-цистерн і БЕГК відповідно до умов, передбачених у пункті 4.3.2.4.4, у транспортному документі повинен бути зроблений наступний запис: «Перевезення відповідно до пункту 4.3.2.4.4».
5.4.1.1.7 Спеціальні положення, що стосуються перевезення в транспортному ланцюзі, що включає морське або повітряне перевезення
Під час перевезення, здійснюваного відповідно до підрозділу 1.1.4.2.1, у транспортному документі повинен бути зроблений наступний запис: «Перевезення відповідно до пункту 1.1.4.2.1».
5.4.1.1.8 і 5.4.1.1.9 (Зарезервовані)
5.4.1.1.10 (Виключено)
5.4.1.1.11 Спеціальні положення, що стосуються перевезення КСМ, цистерн, транспортних засобів-батарей, переносних цистерн і БЕГК після закінчення терміну дії останнього періодичного випробування або перевірки
Під час перевезення, здійснюваного відповідно до пунктів 4.1.2.2 b), 4.3.2.3.7 b), 6.7.2.19.6.1 b), 6.7.3.15.6.1 b) або 6.7.4.14.6.1 b), у транспортному документі повинен бути зроблений наступний запис:
«ПЕРЕВЕЗЕННЯ ВІДПОВІДНО ДО ПУНКТУ 4.1.2.2 b)»;
«ПЕРЕВЕЗЕННЯ ВІДПОВІДНО ДО ПУНКТУ 4.3.2.3.7 b)»;
«ПЕРЕВЕЗЕННЯ ВІДПОВІДНО ДО ПУНКТУ 6.7.2.19.6.1 b)»;
«ПЕРЕВЕЗЕННЯ ВІДПОВІДНО ДО ПУНКТУ 6.7.3.15.6.1 b)»; або
«ПЕРЕВЕЗЕННЯ ВІДПОВІДНО ДО ПУНКТУ 6.7.4.14.6.1 b)» відповідно.
5.4.1.1.12 (Зарезервовано)
5.4.1.1.13 Спеціальні положення, що стосуються перевезення в автоцистернах з декількома секціями або в транспортних одиницях з декількома цистернами
Якщо у відступ від пункту 5.3.2.1.2 автоцистерна з декількома секціями або транспортна одиниця з декількома цистернами маркіровані відповідно до положень пункту 5.3.2.1.3, то в транспортному документі повинні бути зазначені речовини, що містяться в кожній цистерні або в кожній секції цистерни.
5.4.1.1.14 Спеціальні положення, що стосуються речовин, що перевозяться при високій температурі
Якщо в належному відвантажувальному найменуванні речовини, яка перевозиться або пред’являється до перевезення в рідкому стані при температурі, що дорівнює або перевищує 100 °C, або у твердому стані при температурі, що дорівнює або перевищує 240 °C, не вказується на те, що речовина перевозиться при високій температурі (наприклад, шляхом використання у якості частини належного відвантажувального найменування таких слів, як «РОЗПЛАВЛЕНИЙ(А)» або «ПРИ ВИСОКІЙ ТЕМПЕРАТУРІ»), то безпосередньо після належного відвантажувального найменування повинно бути зазначено: «У ГАРЯЧОМУ СТАНІ».
5.4.1.1.15 Спеціальні положення, що стосуються речовин, стабілізованих речовин і речовин при регульованій температурі
Якщо слово «СТАБІЛІЗОВАНИЙ(-НА, -НЕ)» вже не зазначено в належному відвантажувальному найменуванні, воно повинно бути додане до належного відвантажувального найменування, якщо використовується стабілізація, і слова «ПРИ РЕГУЛЬОВАНІЙ ТЕМПЕРАТУРІ» повинні бути додані до належного відвантажувального найменування, якщо стабілізація здійснюється за допомогою регулювання температури або поєднання хімічної стабілізації і регулювання температури (див. пункт 3.1.2.6).
Якщо складовою частиною належного відвантажувального найменування є слова «ПРИ РЕГУЛЬОВАНІЙ ТЕМПЕРАТУРІ» (див. також підрозділ 3.1.2.6), в транспортному документі повинні бути зазначені контрольна й аварійна температури (див. розділ 7.1.7) таким чином:
Контрольна температура: ...°C Аварійна температура: ...°C.
5.4.1.1.16 (Виключено)
5.4.1.1.17 Спеціальні положення, що стосуються перевезення твердих речовин у контейнерах для масових вантажів відповідно до розділу 6.11.4
У випадку перевезення твердих речовин у контейнерах для масових вантажів відповідно до розділу 6.11.4 у транспортному документі повинен бути зроблений наступний запис (див. ПРИМІТКУ на початку розділу 6.11.4):
«Контейнер для масових вантажів BK(х)[5], затверджений компетентним органом…»
5.4.1.1.18 Спеціальні положення, що стосуються перевезення речовин, небезпечних для довкілля (водного середовища)
Якщо речовина, що відноситься до одного з класів 1–9, відповідає критеріям класифікації, передбаченим у пункті 2.2.9.1.10, у транспортному документі повинен бути зроблений додатковий запис «НЕБЕЗПЕЧНА ДЛЯ ДОВКІЛЛЯ» або «ЗАБРУДНЮВАЧ МОРСЬКОГО СЕРЕДОВИЩА/НЕБЕЗПЕЧНА ДЛЯ ДОВКІЛЛЯ». Ця додаткова вимога не застосовується до № ООН 3077 і 3082 або у випадку винятків, передбачених у пункті 5.2.1.8.1.
У випадку перевезення в транспортному ланцюзі, що включає морське перевезення, прийнятним є запис «ЗАБРУДНЮВАЧ МОРСЬКОГО СЕРЕДОВИЩА» (відповідно до пункту 5.4.1.4.3 МКМПНВ).
5.4.1.1.19 Спеціальні положення, що стосуються перевезення тари відбракованої порожньої неочищеної (№ ООН 3509)
У випадку тари відбракованої порожньої неочищеної до належного відвантажувального найменування, зазначеного відповідно до пункту 5.4.1.1.1 b), повинні додаватися слова «(ІЗ ЗАЛИШКАМИ [...])», після яких вказуються клас (класи) і додатковий(і) вид(и) небезпеки, що відповідають залишкам, у порядку зростання номера класу. Крім того, положення пункту 5.4.1.1.1 f) не застосовуються.
Приклад: Тару відбраковану порожню неочищену, у якій містилися вантажі класу 4.1, упаковану разом з тарою відбракованою порожньою неочищеною, у якій містилися вантажі класу 3 з додатковою небезпекою класу 6.1, слід указувати в транспортному документі в такий спосіб:
«UN 3509 ТАРА ВІДБРАКОВАНА ПОРОЖНЯ НЕОЧИЩЕНА (ІЗ ЗАЛИШКАМИ 3, 4.1, 6.1), 9».
5.4.1.1.20 Спеціальні положення, що стосуються перевезення речовин, класифікованих відповідно до підрозділу 2.1.2.8
У випадку перевезення відповідно до підрозділу 2.1.2.8 у транспортному документі повинен бути зроблений наступний запис: «Класифікація відповідно до підрозділу 2.1.2.8».
5.4.1.1.21 Додаткова інформація у випадку застосування спеціальних положень
У тих випадках, коли відповідно до яких-небудь спеціальних положень глави 3.3 необхідна додаткова інформація, ця додаткова інформація повинна бути включена в транспортний документ.
5.4.1.1.22 (Зарезервовано)
5.4.1.1.23 Спеціальні положення, що стосуються речовин, що перевозяться в розплавленому стані
Коли речовина, що є твердою згідно з визначенням, наведеним у розділі 1.2.1, пред'являється до перевезення в розплавленому стані, в якості складової частини належного відвантажувального найменування повинне бути додане уточнююче слово «РОЗПЛАВЛЕНИЙ(-НА, -НЕ)», якщо тільки вона вже не зазначена в належному відвантажувальному найменуванні (див. пункт 3.1.2.5).
5.4.1.1.24 Спеціальні положення, що стосуються посудин під тиском багаторазового використання, дозволених Міністерством транспорту Сполучених Штатів Америки
Під час перевезення, що здійснюється відповідно до підрозділу 1.1.4.7, у транспортному документі повинен бути зроблений такий запис:
«ПЕРЕВЕЗЕННЯ ВІДПОВІДНО ДО ПУНКТУ 1.1.4.7.1» або
«ПЕРЕВЕЗЕННЯ ВІДПОВІДНО ДО ПУНКТУ 1.1.4.7.2» відповідно.
5.4.1.2 Додаткова або спеціальна інформація, що вимагається для деяких класів
5.4.1.2.1 Спеціальні положення для класу 1
а) На додаток до вимог пункту 5.4.1.1.1 f) у транспортному документі повинні вказуватися:
– загальна маса нетто вибухового вмісту[6] в кг для кожної речовини або виробу, що має окремий номер ООН;
– загальна маса нетто вибухового вмісту2 у кг для всіх речовин і виробів, яких стосується транспортний документ;
b) у випадку сумісного упакування двох різних вантажів опис вантажу в транспортному документі повинен включати номера ООН і найменування обох речовин або виробів, надруковані великими літерами в стовпчиках 1 і 2 таблиці A глави 3.2. Якщо в одну й ту саму упаковку укладається більше двох різних вантажів відповідно до спеціальних положень зі сумісного впакування МР1, МР2 і МР20–МР24, наведених в розділі 4.1.10, то в описі вантажів у транспортному документі повинні вказуватися номера ООН усіх речовин і виробів, що містяться в упаковці, а саме: «Вантажі з № ООН...»;
c) під час перевезення речовин і виробів, віднесених до якої-небудь позиції «н.з.к.» або до позиції «0190 ЗРАЗКИ ВИБУХОВИХ РЕЧОВИН», або впакованих відповідно до інструкції з упакування P101, викладеної в підрозділі 4.1.4.1, до транспортного документа повинна додаватися копія виданого компетентним органом затвердження із зазначенням умов перевезення. Цей документ повинен бути складений офіційною мовою країни відправлення й, крім того, якщо ця мова не є англійською, німецькою або французькою, – англійською, німецькою або французькою мовою, за умови, що угодами (якщо такі є), укладеними між країнами, зацікавленими в перевезенні, не передбачено інше;
d) у випадку сумісного навантаження упаковок, що містять речовини й вироби груп сумісності B і D, в один і той самий транспортний засіб відповідно до вимог пункту 7.5.2.2, до транспортного документа повинна додаватися копія виданого компетентним органом затвердження ізольованого відділення або системи втримання відповідно до пункту 7.5.2.2, виноска а до таблиці. Цей документ повинен бути складений офіційною мовою країни відправлення й, крім того, якщо ця мова не є англійською, німецькою або французькою, – англійською, німецькою або французькою мовою, за умови, що угодами (якщо такі є), укладеними між країнами, зацікавленими в перевезенні, не передбачено інше;
e) під час перевезення вибухових речовин або виробів у тарі, що відповідає інструкції з упакування P101, у транспортному документі повинен бути зроблений наступний запис: «Тара, затверджена компетентним органом...» (див. підрозділ 4.1.4.1, інструкція з упакування P101);
f) (Зарезервовано)
g) під час перевезення феєрверкових виробів під № ООН 0333, 0334, 0335, 0336 і 0337 у транспортному документі повинен бути зроблений наступний запис:
«Класифікація феєрверкових виробів компетентним органом XX, класифікаційний номер феєрверкового виробу – XX/YYZZZZ».
Свідоцтво про затвердження класифікації не обов’язково повинне бути разом з вантажем, але відправник вантажу повинен надати його в розпорядження перевізника або компетентних органів для цілей контролю. Свідоцтво про затвердження класифікації або його копія складається офіційною мовою країни відправлення й, крім того, якщо ця мова не є англійською, німецькою або французькою, – англійською, німецькою або французькою мовою.
ПРИМІТКА 1: На додаток до належного відвантажувального найменування в транспортному документі може бути зазначене комерційне або технічне найменування вантажу.
ПРИМІТКА 2:Класифікаційний(і) номер(и) складається(ються) з найменування Договірної сторони ДОПНВ, у якій був затверджений класифікаційний код відповідно до спеціального положення 645 розділу 3.3.1, у вигляді відмітного знаку, використовуваного на транспортних засобах, що перебувають у міжнародному дорожньому русі (ХХ)[7], позначення компетентного органу (YY) та індивідуального серійного номера (ZZZZ). Нижче наведені приклади таких класифікаційних номерів:
GB/HSE123456
D/BAM1234.
5.4.1.2.2 Додаткові положення для класу 2
a) У випадку перевезення сумішей (див. пункт 2.2.2.1.1) у цистернах (знімних цистернах, вбудованих цистернах, переносних цистернах, контейнерах-цистернах або елементах транспортних засобів-батарей або БЕГК) повинен вказуватися процентний (за об'ємом або масою) склад суміші. Компоненти, що становлять менше 1%, не вказуються (див. також пункт 3.1.2.8.1.2). Указувати склад суміші не потрібно, коли на додаток до належного відвантажувального найменування використовуються технічні найменування, дозволені спеціальними положеннями 581, 582 або 583;
b) у випадку перевезення балонів, трубок, барабанів під тиском, криогенних посудин і в’язок балонів відповідно до умов пункту 4.1.6.10 у транспортному документі повинен бути зроблений наступний запис: «Перевезення відповідно до пункту 4.1.6.10»;
с) (Зарезервовано)
d) у випадку перевезення охолоджених скраплених газів у контейнерах-цистернах або переносних цистернах відправник вантажу повинен указувати в транспортному документі дату закінчення фактичного часу втримання в такому форматі:
«Дата закінчення часу втримання: .................................... (ДД/ММ/РРРР)»;
e) у разі перевезення № ООН 1012 транспортний документ повинен містити найменування конкретного вантажу газу (див. спеціальне положення 398 глави 3.3), вказане в дужках після належного відвантажувального найменування.
5.4.1.2.3 Додаткові положення, що стосуються самореактивних речовин і речовин, що полімеризуються, класу 4.1 і органічних пероксидів класу 5.2
5.4.1.2.3.1 Для самореактивних речовин і речовин, що полімеризуються, класу 4.1 і органічних пероксидів класу 5.2, що вимагають регулювання температури в ході перевезення (відносно самореактивних речовин див. пункт 2.2.41.1.17; у відношенні речовин, що полімеризуються, див. пункт 2.2.41.1.21; у відношенні органічних пероксидів див. пункт 2.2.52.1.15), у транспортному документі повинні бути зазначені контрольна й аварійна температури, а саме:
«Контрольна температура: … °C Аварійна температура: … °C».
5.4.1.2.3.2 Якщо для тих або інших самореактивних речовин класу 4.1 і тих або інших органічних пероксидів класу 5.2 компетентний орган дозволив не розміщати на конкретній тарі знак зразка № 1 (див. пункт 5.2.2.1.9), то в транспортному документі повинен бути зроблений відповідний запис:
«Знак зразка № 1 не потрібен».
5.4.1.2.3.3 Якщо органічні пероксиди й самореактивні речовини перевозяться в умовах, що вимагають затвердження (у відношенні органічних пероксидів див. пункт 2.2.52.1.8, пункт 4.1.7.2.2 і спеціальне положення ТА2 у розділі 6.8.4; відносно самореактивних речовин див. пункт 2.2.41.1.13 і пункт 4.1.7.2.2), то в транспортному документі повинен бути зроблений відповідний запис, наприклад: «Перевезення відповідно до пункту 2.2.52.1.8».
До транспортного документа повинна додаватися копія затвердження, виданого компетентним органом, із зазначенням умов перевезення. Цей документ повинен бути складений офіційною мовою країни відправлення й, крім того, якщо ця мова не є англійською, німецькою або французькою, – англійською, німецькою або французькою мовою, за умови, що угодами (якщо такі є), укладеними між країнами, зацікавленими в перевезенні, не передбачено інше.
5.4.1.2.3.4 Якщо перевозиться зразок органічного пероксиду (див. пункт 2.2.52.1.9) або самореактивної речовини (див. пункт 2.2.41.1.15), то в транспортному документі повинен бути зроблений відповідний запис, наприклад: «Перевезення відповідно до пункту 2.2.52.1.9».
5.4.1.2.3.5 Якщо перевозяться самореактивні речовини типу G (див. Керівництво з випробувань і критеріїв, частина II, пункт 20.4.2 g)), то в транспортному документі може бути зроблений наступний запис: «Самореактивна речовина, що не відноситься до класу 4.1».
Якщо перевозяться органічні пероксиди типу G (див. Керівництво з випробувань і критеріїв, частина II, пункт 20.4.3 g)), то в транспортному документі може бути зроблений наступний запис: «Речовина, що не відноситься до класу 5.2».
5.4.1.2.4 Додаткові положення для класу 6.2
Крім інформації, що стосується вантажоодержувача (див. пункт 5.4.1.1.1 h)), повинні вказуватися прізвище й номер телефону відповідальної особи.
5.4.1.2.5 Додаткові положення для класу 7
5.4.1.2.5.1 У транспортний документ, прикладений до кожного вантажу, що складається з матеріалів класу 7, повинна включатися у відповідних випадках наступна інформація в наведеній нижче послідовності й відразу ж після інформації, вказаної у пункті 5.4.1.1.1 а)–с) і k):
а) назва або символ кожного радіонукліда або, у випадку сумішей радіонуклідів відповідний загальний опис або перелік радіонуклідів, у відношенні яких діють найбільші обмеження;
b) опис фізичної й хімічної форми матеріалу або запис про те, що даний матеріал являє собою радіоактивний матеріал особливого виду або радіоактивний матеріал з низькою здатністю до розсіювання. Для хімічної форми припустимий загальний хімічний опис. Відносно радіоактивних матеріалів з додатковою небезпекою див. підпункт c) спеціального положення 172 глави 3.3;
с) максимальна активність радіоактивного вмісту під час перевезення, виражена в бекерелях (Бк) з відповідним позначенням приставки СІ (див. пункт 1.2.2.1). Для подільного матеріалу замість активності може бути зазначена маса подільного матеріалу (або, у належних випадках, маса кожного подільного нукліда у сумішах), виражена в грамах (г) або відповідних кратних їм одиницях;
d) категорія упаковки, транспортного пакета або контейнера, привласнена згідно з пунктом 5.1.5.3.4, тобто I-БІЛА, II-ЖОВТА, III-ЖОВТА;
e) TI, визначений згідно з пунктами 5.1.5.3.1 і 5.1.5.3.2 ( крім категорії I-БІЛА);
f) для подільного матеріалу:
i) перевозиться на умовах одного звільнення по пунктах 2.2.7.2.3.5 a)–f), вказівка на цей пункт;
ii) перевозиться на умовах пунктів 2.2.7.2.3.5 c)–e), загальна маса подільних нуклідів;
iii) міститься в упаковці, до якої застосовується один з пунктів 6.4.11.2 a)–c) або 6.4.11.3, вказівка на цей пункт;
iv) індекс безпеки з критичності, у відповідних випадках;
g) розпізнавальний знак для кожного сертифіката про затвердження компетентного органу (радіоактивний матеріал особливого виду, радіоактивний матеріал з низькою здатністю до розсіювання, подільний матеріал, підпадає під звільнення по пункту 2.2.7.2.3.5 f), спеціальні умови, конструкція упаковки або перевезення), застосовний для даного вантажу;
h) для вантажів, що складаються із декількох упаковок, інформація, передбачена в пункті 5.4.1.1.1 і в підпунктах а)–g) вище, повинна представлятися по кожній упаковці. У випадку упаковок, що містяться в транспортному пакеті, контейнері або транспортному засобі, повинна вказуватися докладна інформація про вміст кожної упаковки, що знаходиться в транспортному пакеті, контейнері або транспортному засобі, і, за необхідності, про вміст кожного транспортного пакета, контейнера або транспортного засобу. Якщо в пункті проміжного розвантаження упаковка має бути вилучена з транспортного пакета, контейнера або транспортного засобу, то повинні бути підготовлені відповідні транспортні документи;
i) якщо вантаж потрібно перевозити на умовах виняткового використання, то робиться запис: «ПЕРЕВЕЗЕННЯ НА УМОВАХ ВИНЯТКОВОГО ВИКОРИСТАННЯ»; і
j) для матеріалів LSA-II і LSA-III, об’єктів SCO-I, SCO-II і SCO-III – повна активність вантажу у вигляді значення, кратного A2. У випадку радіоактивного матеріалу, для якого значення A2 є необмеженим, значення, кратне A2, дорівнює нулю.
5.4.1.2.5.2 Відправник вантажу повинен включати в транспортні документи інформацію про дії (якщо вони необхідні), які зобов’язаний здійснити перевізник. Така інформація повинна бути на мовах, які перевізник або відповідні органи вважають необхідними, і повинна включати як мінімум наступне:
a) додаткові вимоги відносно навантаження, укладання, перевезення, обробки й розвантаження упаковки, транспортного пакета або контейнера, включаючи будь-які спеціальні приписання відносно укладання для забезпечення безпечного відводу тепла (див. спеціальне положення CV33 (3.2) у розділі 7.5.11), або повідомлення про те, що таких вимог не передбачається;
b) обмеження відносно виду транспорту або транспортного засобу й будь-які необхідні інструкції відносно маршруту;
c) заходи на випадок аварії для даного вантажу.
5.4.1.2.5.3 У всіх випадках міжнародних перевезень упаковок, під час яких потрібне затвердження конструкції або перевезення компетентним органом, коли можуть застосовуватися різні типи затвердження в різних країнах, що мають відношення до перевезення, номер ООН і належне відвантажувальне найменування, необхідні в пункті 5.4.1.1.1, повинні бути відповідно до сертифікату країни походження конструкції.
5.4.1.2.5.4 Діючі сертифікати, видавані компетентним органом, не обов’язково мають бути разом з вантажем. Відправник вантажу повинен надати їх у розпорядження перевізника(ів) до навантаження й розвантаження.
5.4.1.3 (Зарезервовано)
5.4.1.4 Формат і мова
5.4.1.4.1 Документом, що містить інформацію, передбачену в підрозділах 5.4.1.1 і 5.4.1.2, може бути документ, що встановлюється іншими чинними правилами, що стосуються перевезення яким-небудь іншим видом транспорту. У випадку декількох вантажоодержувачів найменування й адреси вантажоодержувачів і дані про доставлені кількості, що дозволяють у будь-який час оцінити характер і кількість вантажу, що перевозиться, можуть вказуватися в інших документах, які повинні використовуватися, або в будь-яких інших документах, які є обов’язковими відповідно до інших спеціальних правил і які повинні знаходитися на транспортному засобі.
Записи в цьому документі повинні робитися офіційною мовою країни відправлення й, крім того, якщо ця мова не є англійською, німецькою або французькою, – англійською, німецькою або французькою мовою, за умови, що міжнародними тарифами на дорожні перевезення, якщо такі є, або угодами, укладеними між країнами, зацікавленими в перевезенні, не передбачено інше.
5.4.1.4.2 Якщо об’єм партії вантажів не дозволяє завантажити їх цілком в одну транспортну одиницю, то складається, принаймні, стільки окремих документів або копій єдиного документа, скільки було завантажено транспортних одиниць. Крім того, у всіх випадках виписуються окремі транспортні документи на партії або частини партії вантажів, які не можуть вантажитися сумісно в один і той же самий транспортний засіб у зв’язку із заборонами, викладеними в розділі 7.5.2.
Інформація, що стосується видів небезпеки вантажів, що підлягають перевезенню (зазначена в підрозділі 5.4.1.1), може бути включена в існуючий транспортний або перевантажувальний документ або може додаватися до нього. Розташування інформації в документі (або порядок передачі відповідних даних методом електронної обробки інформації (ЕОІ) або методом електронного обміну даними (ЕОД)) повинно бути таким, як це передбачено в пункті 5.4.1.1.1.
Якщо існуючий транспортний або перевантажувальний документ не може бути використаний у якості документа для мультимодального перевезення небезпечних вантажів, то рекомендується використовувати документи, що відповідають прикладу, наведеному в розділі 5.4.5[8] .
5.4.1.5 Безпечні вантажі
Якщо вантажі, перелічені за найменуванням в таблиці A глави 3.2, не підпадають під дію вимог ДОПНВ, оскільки відповідно до частини 2 вони вважаються безпечними, відправник вантажу може зробити в транспортному документі відповідний запис, наприклад: «Вантажі, що не відносяться до класу...».
ПРИМІТКА: Це положення може застосовуватися, зокрема, тоді, коли відправник вантажу вважає, що через хімічні властивості вантажів, що перевозяться (наприклад, розчини й суміші), або через те, що такі вантажі вважаються небезпечними відповідно до інших нормативних положень, партія вантажу може бути піддана контролю в ході перевезення.
5.4.2 Свідоцтво про завантаження контейнера/транспортного засобу
Якщо перевезення небезпечних вантажів у контейнері передує морському перевезенню, то особами, відповідальними за завантаження контейнера, морському перевізнику передається «свідоцтво про завантаження контейнера/транспортного засобу», що відповідає вимогам розділу 5.4.2 МКМПНВ5, 6.
Транспортний документ, необхідний відповідно до розділу 5.4.1, і зазначене вище «свідоцтво про завантаження контейнера/транспортного засобу» можуть бути зведені в єдиний документ (див., наприклад, розділ 5.4.5). Якщо зазначені документи зводяться в єдиний документ, то в транспортному документі достатньо указати, що завантаження контейнера або транспортного засобу зроблено відповідно до чинних правил, застосовних до даного виду транспорту, а також привести дані про особу, відповідальну за видачу «свідоцтва про завантаження контейнера/транспортного засобу».
Якщо перевезення небезпечних вантажів у транспортному засобі передує морському перевезенню, то до транспортного документа може також додаватися «свідоцтво про завантаження контейнера/транспортного засобу», що відповідає вимогам розділу 5.4.2 МКМПНВ5, 6.
5.4.3 Письмові інструкції
5.4.3.1 На випадок надзвичайної ситуації, яка може виникнути в результаті аварії під час перевезення, у кабіні екіпажу транспортного засобу в легкодоступному місці повинні бути письмові інструкції, складені за формою, зазначеною в пункті 5.4.3.4.
5.4.3.2 Ці інструкції повинні передаватися перевізником екіпажу транспортного засобу(ами), мовою(ами), на якій(их) кожний член екіпажу може читати і яку(і) він розуміє, до початку рейсу. Перевізник повинен забезпечити правильне розуміння й виконання цих інструкцій кожним членом екіпажу транспортного засобу.
5.4.3.3 До початку рейсу члени екіпажу транспортного засобу повинні одержати інформацію про завантажений небезпечний вантаж і ознайомитися з письмовими інструкціями, що містять відомості про заходи, вжиті у випадку аварії або надзвичайної ситуації.
5.4.3.4 За формою й змістом письмові інструкції повинні відповідати такому зразку на чотирьох сторінках.
ПИСЬМОВІ ІНСТРУКЦІЇ ВІДПОВІДНО ДО ДОПНВ
Заходи, вжиті у випадку аварії або надзвичайної ситуації
У випадку аварії або надзвичайної ситуації, які можуть мати місце або виникнути під час перевезення, члени екіпажу транспортного засобу повинні вжити наступних припустимих з погляду безпеки й практичної можливості заходів:
– включити гальмову систему, виключити двигун і відключити акумуляторну батарею, привівши в дію головний вимикач, якщо такий є;
– триматися на віддалі від джерел загоряння, зокрема не курити, не використовувати електронні сигарети й аналогічні пристрої й не включати яке-небудь електрообладнання;
– інформувати відповідні аварійні служби, повідомивши їм як можна більш докладну інформацію про інцидент або аварію й відповідні речовини;
– надягти аварійний жилет і встановити відповідні попереджувальні знаки із власною опорою;
– помістити транспортні документи в легкодоступне місце для передачі співробітникам аварійних служб по їх прибуттю;
– не наступати на речовини, що розлилися/що просипалися й не вступати в контакт із ними, а також, залишаючись із навітряної сторони, не вдихати гази, дим, пил і пари;
– у тих випадках, коли це доцільно й безпечно, використовувати вогнегасники для гасіння невеликих/первинних вогнищ загоряння на шинах, у гальмовій системі й відсіку двигуна;
– члени екіпажу транспортного засобу не повинні вживати ніяких заходів у випадку пожежі у вантажних відділеннях;
– у тих випадках, коли це доцільно й безпечно, використовувати наявне на борті обладнання для запобігання витокам у водне довкілля або каналізаційну систему й для локалізації речовин, що пролилися/що просипалися;
– відійти від місця аварії або надзвичайної ситуації, рекомендувати іншим особам також відійти від цього місця й додержуватися інструкцій співробітників аварійних служб;
– зняти весь забруднений одяг і використане забруднене захисне спорядження й вилучити їх безпечним чином.
Додаткові вказівки для членів екіпажу транспортного засобу відносно характеристик небезпечних властивостей небезпечних вантажів у розбивці по класах і заходів, ужитих з урахуванням існуючих обставин |
||
Знаки небезпеки й великі знаки небезпеки |
Характеристики небезпечних властивостей |
Додаткові вказівки |
(1) |
(2) |
(3) |
Вибухові речовини й вироби
|
Можуть мати ряд властивостей і ефектів, таких як масова детонація; розкидання осколків; інтенсивна пожежа/ тепловий потік; виникнення яскравого спалаху, голосного шуму або диму. Чутливість до поштовхів і/або ударів і/або тепла. |
Укритися в сховище, але при цьому залишатися на віддалі від вікон. |
|
Вибухові речовини й вироби
|
Незначний ризик вибуху й пожежі. |
Укритися в сховище. |
|
Займисті гази
2.1 |
Ризик пожежі. Ризик вибуху. Можуть знаходитися під тиском. Ризик удушення. Можуть викликати опіки й/або обмороження. При нагріванні ємності можуть вибухнути. |
Укритися в сховище. Уникати низьких місць. |
|
Незаймисті, нетоксичні гази
2.2 |
Ризик удушення. Можуть знаходитися під тиском. Можуть викликати обмороження. При нагріванні ємності можуть вибухнути. |
Укритися в сховище. Уникати низьких місць. |
|
Токсичні гази
|
Небезпека отруєння. Можуть знаходитися під тиском. Можуть викликати опіки й/або обмороження. При нагріванні ємності можуть вибухнути. |
Використовувати маску для аварійного покидання транспортного засобу. Укритися в сховище. Уникати низьких місць. |
|
Легкозаймисті рідини
3 |
Ризик пожежі. Ризик вибуху. При нагріванні ємності можуть вибухнути. |
Укритися в сховище. Уникати низьких місць. |
|
Легкозаймисті тверді речовини, самореактивні речовини, речовини, що полімеризуються, й тверді десенсибілізовані вибухові речовини
|
Ризик пожежі. Легкозаймисті або горючі речовини можуть запалюватися під впливом тепла, іскор або полум’я. Можуть містити самореактивні речовини, здатні до екзотермічного розкладання у випадку нагрівання, контакту з іншими речовинами (такими, як кислоти, сполуки важких металів або аміни), тертя або удару. Це може призвести до виділення шкідливих або займистих газів або пар або самозаймання. При нагріванні ємності можуть вибухнути. Ризик вибуху десенсибілізованих вибухових речовин після втрати десенсибілізатора. |
|
|
Речовини, здатні до самозаймання
|
Ризик пожежі в результаті самозаймання, якщо упаковки ушкоджені або відбувся витік їх умісту. Можуть бурхливо реагувати з водою. |
|
|
Речовини, що виділяють займисті гази при стиканні з водою
4.3 |
Ризик пожежі й вибуху при стиканні з водою. |
Продукт, що просипався, повинен бути накритий і залишатися сухим. |
|
Додаткові вказівки для членів екіпажу транспортного засобу відносно характеристик небезпечних властивостей небезпечних вантажів у розбивці по класах і заходів, вжитих з урахуванням існуючих обставин |
|||
Знаки небезпеки й великі знаки небезпеки |
Характеристики небезпечних властивостей |
Додаткові вказівки |
|
(1) |
(2) |
(3) |
|
|
Окснювальні речовини
|
Ризик бурхливої реакції, запалення або вибуху при стиканні з горючими або легкозаймистими речовинами. |
Уникати змішування з легкозаймистими або горючими речовинами (наприклад, ошурками). |
|
|
Органічні пероксиди
5.2 |
Ризик екзотермічного розкладання у випадку нагрівання, стикання з іншими речовинами (такими, як кислоти, сполуки важких металів або аміни), тертя або удару. Це може призвести до виділення шкідливих або займистих газів або пар або самозайманню. |
Уникати змішування з легкозаймистими або горючими речовинами (наприклад, ошурками). |
|
|
Токсичні речовини
|
Ризик отруєння при вдиханні, стиканні зі шкірою й проковтуванні. Небезпека для водного довкілля або каналізаційної системи. |
Використовувати маску для аварійного покидання транспортного засобу. |
|
|
Інфекційні речовини
|
Ризик інфекції. Можуть викликати серйозні захворювання в людей або тварин. Небезпека для водного довкілля або каналізаційної системи. |
||
|
Радіоактивні матеріали
|
Ризик поглинання й зовнішнього радіоактивного випромінювання. |
Обмежити час впливу. |
|
|
Подільні матеріали
|
Небезпека виникнення ядерної ланцюгової реакції. |
||
|
Корозійні речовини
|
Ризик опіків у результаті роз’їдання шкіри. Можуть бурхливо реагувати між собою, з водою й іншими речовинами. Речовина що розлилася/що просипалася, може виділяти корозійні пари. Становлять небезпеку для водного довкілля або каналізаційної системи. |
||
|
Інші небезпечні речовини й вироби
|
Ризик опіків. Ризик пожежі. Ризик вибуху. Небезпека для водного довкілля або каналізаційної системи. |
||
ПРИМІТКА 1: Для небезпечних вантажів із множинними ризиками й для змішаних партій вантажів повинні дотримуватися всі застосовні положення, зазначені в таблиці.
ПРИМІТКА 2: Додаткові вказівки, наведені у стовпчику 3 таблиці, можуть адаптуватися з урахуванням класів небезпечних вантажів, що підлягають перевезенню, і використовуваних засобів перевезення.
|
Додаткові вказівки для членів екіпажу транспортного засобу відносно характеристик небезпечних властивостей небезпечних вантажів, на які вказують маркувальні знаки, і заходів, вжитих з урахуванням існуючих обставин |
||
|
Маркувальний знак |
Характеристики небезпечних властивостей |
Додаткові вказівки |
|
(1) |
(2) |
(3) |
|
Речовини, небезпечні для довкілля |
Небезпека для водного довкілля або каналізаційної системи. |
|
|
Речовини, що перевозяться при високій температурі |
Ризик опіків від впливу тепла. |
Уникати контакту з нагрітими частинами транспортної одиниці й речовиною, що просипалася/що розлилася. |
Засоби індивідуального й загального захисту, призначені для вживання заходів загального характеру й надзвичайних заходів з урахуванням конкретного виду небезпеки, що перевозяться на транспортній одиниці відповідно до розділу 8.1.5 ДОПНВ
На транспортній одиниці повинне перевозитися наступне спорядження:
– для кожного транспортного засобу − противідкотний упор, розмір якого повинен відповідати максимальній масі транспортного засобу й діаметру коліс;
– два попереджувальні знаки із власною опорою;
– рідина для промивання очей а;
для кожного члена екіпажу транспортного засобу:
– аварійний жилет;
– переносний освітлювальний прилад;
– пари захисних рукавичок;
– засіб захисту очей.
Додаткове спорядження, необхідне для деяких класів:
– маска для аварійного покидання транспортного засобу для кожного члена екіпажу транспортного засобу, яка повинна перевозитися на транспортній одиниці у випадку знаків небезпеки № 2.3 або 6.1;
– лопатаb;
– дренажна ловушкаb;
– збірний контейнерb.
а Вимагається тільки у випадку знаків небезпеки № 1, 1.4, 1.5, 1.6, 2.1, 2.2 і 2.3.
b Вимагається тільки у випадку твердих речовин та рідин зі знаками небезпеки №3, 4.1, 4.3, 8 або 9.
5.4.3.5 Договірні сторони передають секретаріату ЄЕК ООН офіційний переклад письмових інструкцій на своєму(їх) національному(их) мові (мовах) відповідно до цього розділу. Секретаріат ЄЕК ООН надає отримані національні версії письмових інструкцій усім Договірним сторонам.
5.4.4 Зберігання інформації, що стосується перевезення небезпечних вантажів
5.4.4.1 Відправник вантажу й перевізник повинні зберігати копію транспортного документа на небезпечні вантажі й додаткову інформацію й документацію, зазначену в ДОПНВ, протягом як мінімум трьох місяців.
5.4.4.2 Коли документи зберігаються на електронних носіях або в комп’ютерній системі, відправник вантажу й перевізник повинні бути здатні відтворити їх у друкованому вигляді.
5.4.5 Приклад форми документа на небезпечні вантажі при мультимодальному перевезенні
Приклад форми документа, який може використовуватися при мультимодальному перевезенні небезпечних вантажів у якості документа, що поєднує декларацію відносно небезпечних вантажів і свідоцтво про завантаження контейнера.
ФОРМА ДОКУМЕНТА НА НЕБЕЗПЕЧНІ ВАНТАЖІ ПРИ МУЛЬТИМОДАЛЬНОМУ ПЕРЕВЕЗЕННІ
1. Відправник вантажу |
2. Номер транспортного документа |
|||||||||
3. Стор. 1 з __________ стор. | 4. Реєстраційний номер відправника вантажу
|
|||||||||
5. Реєстраційний номер експедитора
|
||||||||||
6. Вантажоодержувач |
7.Перевізник (заповнюється перевізником)
|
|||||||||
|
ДЕКЛАРАЦІЯ ВІДПРАВНИКА ВАНТАЖУ Цим заявляю, що вміст даної партії вантажу повністю й точно описаний нижче належним відвантажувальним найменуванням і що вміст класифікований, упакований, маркірований, оснащений знаками небезпеки/великими знаками небезпеки й у всіх відношеннях знаходиться у належному стані для перевезення відповідно до застосовних міжнародних і національних урядових правил. |
||||||||||
|
8. Перевезення здійснюється з дотриманням обмежень, установлених для: (непотрібне викреслити) |
9. Додаткова інформація з обробки вантажів |
|||||||||
|
ПАСАЖИРСЬКИХ І ВАНТАЖНИХ ПОВІТРЯНИХ СУДЕН |
ТІЛЬКИ ВАНТАЖНИХ ПОВІТРЯНИХ СУДЕН |
|||||||||
|
10. Номер морського/ авіаційного рейсу й дата
|
11. Порт/аеропорт завантаження
|
|||||||||
|
12. Порт/аеропорт розвантаження
|
13. Місце призначення
|
|||||||||
|
14. Маркувальні знаки * Кількість і тип упаковок, опис вантажу Маса брутто (кг) Маса нетто Об’єм (м3) |
||||||||||
|
|
||||||||||
|
15. Код і реєстраційний номер контейнера/транспортного засобу |
16. Номер(и) пломб |
17. Габаритні розміри й тип контейнера/транспортного засобу |
18. Вага тари (кг) |
19. Загальна вага брутто (включаючи вагу тари) (кг) |
||||||
|
СВІДОЦТВО ПРО ЗАВАНТАЖЕННЯ КОНТЕЙНЕРА/ ТРАНСПОРТНОГО ЗАСОБУ Цим заявляю, що описані вище вантажі впаковані/ завантажені в контейнер/транспортний засіб, зазначений вище, відповідно до застосовних положень** СВІДОЦТВО ПОВИННЕ БУТИ ЗАПОВНЕНЕ Й ПІДПИСАНЕ ДЛЯ ВСІХ КОНТЕЙНЕРІВ/ТРАНСПОРТНИХ ЗАСОБІВ ОСОБОЮ, ВІДПОВІДАЛЬНОЮ ЗА ВПАКУВАННЯ/ЗАВАНТАЖЕННЯ |
21. РОЗПИСКА ОДЕРЖУВАЧА Одержав зазначену вище кількість упаковок/контейнерів/причепів за зовнішнім виглядом в належному порядку й стані, за винятком наступного: ЗАУВАЖЕННЯ ОДЕРЖУВАЧА: |
|||||||||
|
20. Найменування компанії |
Найменування транспортного підприємства |
22. Найменування компанії (ВІДПРАВНИКА ВАНТАЖУ, ЩО ПІДГОТУВАВ ЦЕЙ ДОКУМЕНТ) |
||||||||
|
Прізвище/посада особи, що підписує декларацію |
Реєстраційний номер транспортного засобу |
Прізвище/посада особи, що підписує декларацію |
||||||||
|
Місце й дата |
Підпис і дата |
Місце й дата |
||||||||
|
Підпис особи, що склала декларацію |
ПІДПИС ВОДІЯ ТРАНСПОРТНОГО ЗАСОБУ |
Підпис особи, що склала декларацію |
||||||||
* НЕБЕЗПЕЧНІ ВАНТАЖІ: необхідно вказати номер ООН, належне відвантажувальне найменування, клас небезпеки, групу упакування (коли цк потрібно), а також будь-які інші відомості, необхідні відповідно до застосовних національних та міжнародних правил."
** Див. розділ 5.4.2.
ФОРМА ДОКУМЕНТА НА НЕБЕЗПЕЧНІ ВАНТАЖІ ПРИ МУЛЬТИМОДАЛЬНОМУ ПЕРЕВЕЗЕННІ (продовження)
1. Відправник вантажу |
2. Номер транспортного документа |
|||||||||
3. Стор. 1 з __________ стор. | 4. Реєстраційний номер відправника вантажу
|
|||||||||
5. Реєстраційний номер експедитора
|
14. Маркувальні знаки * Кількість і тип упаковок, опис вантажу Маса брутто (кг) Маса нетто Об’єм (м3) |
|||||||||
|
||||||||||
5.5.1 (Виключено)
5.5.2 Спеціальні положення, застосовувані до фумігованих вантажних транспортних одиниць (№ ООН 3359)
5.5.2.1 Загальні положення
5.5.2.1.1 На фуміговані вантажні транспортні одиниці (№ ООН 3359), що не містять інших небезпечних вантажів, не поширюються які-небудь положення ДОПНВ, крім положень цього розділу.
5.5.2.1.2 Коли, крім фуміганта, у фуміговану вантажну транспортну одиницю завантажені небезпечні вантажі, на додаток до положень цього розділу застосовується будь-яке положення ДОПНВ, що стосується цих вантажів (включаючи положення, що стосуються великих знаків небезпеки, маркування й документації).
5.5.2.1.3 Для перевезення фумигованого вантажу повинні використовуватися тільки вантажні транспортні одиниці, які можуть закриватися таким чином, щоб випуск газу був скорочений до мінімуму.
5.5.2.2 Підготовка працівників
Особи, що займаються обробкою фумігованих вантажних транспортних одиниць, повинні пройти підготовку, що відповідає їх обов’язкам.
5.5.2.3 Розміщення маркування й великих знаків небезпеки
5.5.2.3.1 На фумігованій вантажній транспортній одиниці повинен бути попереджувальний маркувальний знак, зазначений у пункті 5.5.2.3.2; він повинен бути розміщений у кожній точці входу в місці, де він буде добре помітний для осіб, що відкривають вантажну транспортну одиницю або входять усередину неї. Цей маркувальний знак повинен зберігатися на вантажній транспортній одиниці доти, поки не будуть виконані наступні умови:
a) фумігована вантажна транспортна одиниця була провітрена з метою видалення шкідливих концентрацій фумігованого газу; і
b) фуміговані вантажі або матеріали були вивантажені.
5.5.2.3.2 Маркувальний знак, що попереджає про фумігацію, повинен бути таким, як показано на рис. 5.5.2.3.2.
Рис. 5.5.2.3.2
Маркувальний знак, що попереджає про фумігацію
Цей маркувальний знак повинен мати прямокутну форму. Мінімальні розміри: ширина − 400 мм і висота − 300 мм, а мінімальна ширина зовнішньої лінії − 2 мм. Маркувальний знак повинен бути чорного кольору на білому тлі при висоті літер не менше 25 мм. Якщо розміри не зазначені, усі елементи повинні бути приблизно пропорційні зображеним елементам.
5.5.2.3.3 Якщо фумігована вантажна транспортна одиниця була повністю провітрена шляхом відкриття її дверей або шляхом механічної вентиляції після фумігації, дата провітрювання повинна бути зазначена на маркувальному знаку, що попереджає про фумігацію.
5.5.2.3.4 Після того, як фумігована вантажна транспортна одиниця була провітрена й розвантажена, маркувальний знак, що попереджає про фумігацію, повинен бути вилучений.
5.5.2.3.5 Великі знаки небезпеки, що відповідають зразку № 9 (див. пункт 5.2.2.2.2), не повинні розміщатися на фумігованій вантажній транспортній одиниці, за винятком випадків, коли це потрібно для інших поміщених у неї речовин або виробів класу 9.
5.5.2.4 Документація
5.5.2.4.1 В документах, пов’язаних з перевезенням вантажних транспортних одиниць, підданих фумігації й не провітрених повністю перед перевезенням, повинна вказуватися наступна інформація:
a) «UN 3359, фумігована вантажна транспортна одиниця, 9» або «UN 3359, фумігована вантажна транспортна одиниця, клас 9»;
b) дата й час фумігації; і
c) тип і кількість використаного фуміганта.
Ці записи повинні бути зроблені офіційною мовою країни відправлення й, крім того, якщо ця мова не є англійською, німецькою або французькою, – англійською, німецькою або французькою мовою, за умови, що угодами (якщо такі є), укладеними між країнами, зацікавленими в перевезенні, не передбачено інше.
5.5.2.4.2 Документи можуть бути складені в будь-якій формі, за умови, що в них міститься інформація, вказана в пункті 5.5.2.4.1. Записи з цією інформацією повинні легко ідентифікуватися, бути розбірливими й такими, що не витираються.
5.5.2.4.3 Повинні бути включені інструкції з видалення будь-яких залишкових кількостей фуміганта, включаючи пристрої для фумігації (якщо такі використовувалися).
5.5.2.4.4 Наявність документа не потрібна, якщо фумігована вантажна транспортна одиниця була повністю провітрена й дата провітрювання була зазначена на попереджувальному маркувальному знаку (див. пункти 5.5.2.3.3 і 5.5.2.3.4).
5.5.3 Спеціальні положення, застосовувані до перевезення сухого льоду (№ ООН 1845) і до упаковок і транспортних засобів і контейнерів, що містять речовини, що становлять небезпеку асфіксії при використанні для цілей охолодження або кондиціонування (такі, як лід сухий (№ ООН 1845), або азот охолоджений рідкий (№ ООН 1977), або аргон охолоджений рідкий (№ ООН 1951), або азот)
ПРИМІТКА: У контексті цього розділу термін «кондиціонування» може мати більш широке охоплення й містить у собі захист.
5.5.3.1 Сфера застосування
5.5.3.1.1 Цей розділ не застосовується до речовин, які можуть використовуватися для цілей охолодження або кондиціонування, коли вони перевозяться як небезпечні вантажі, за винятком перевезення сухого льоду (№ ООН 1845). Коли ці речовини перевозяться як вантаж, вони повинні перевозитися під відповідною позицією таблиці А глави 3.2 згідно з відповідними умовами перевезення.
У випадку № ООН 1845 умови перевезення, зазначені в цьому розділі, за винятком пункту 5.5.3.3.1, застосовуються до всіх видів перевезення у якості холодоагенту або кондиціонувального реагенту або в якості вантажу. У випадку перевезення № ООН 1845 ніякі інші положення ДОПНВ не застосовуються.
5.5.3.1.2 Цей розділ не застосовується до газів у циклах охолодження.
5.5.3.1.3 Небезпечні вантажі, використовувані для цілей охолодження або кондиціонування цистерн або БЕГК під час перевезення, не підпадають під дію положень цього розділу.
5.5.3.1.4 Транспортні засоби й контейнери, що містять речовини, використовувані для цілей охолодження або кондиціонування, включають транспортні засоби й контейнери, що містять речовини, використовувані для цілей охолодження або кондиціонування усередині упаковок, а також транспортні засоби й контейнери з не упакованими речовинами, використовуваними для цілей охолодження або кондиціонування.
5.5.3.1.5 Положення підрозділів 5.5.3.6 і 5.5.3.7 застосовуються тільки в тих випадках, коли існує реальна небезпека асфіксії в транспортному засобі або контейнері. Ця небезпека повинна оцінюватися самими учасниками перевезення з урахуванням небезпеки, яку становлять речовини, використовувані для цілей охолодження або кондиціонування, кількості речовини, що перевозиться, тривалості процесу перевезення, типів використовуваних засобів утримання й граничних значень концентрації газу, зазначених у примітці до пункту 5.5.3.3.3.
5.5.3.2 Загальні положення
5.5.3.2.1 Транспортні засоби й контейнери, у яких перевозиться сухий лід (№ ООН 1845) або що містять речовини, використовувані для цілей охолодження або кондиціонування (крім фумігації) під час перевезення, не підпадають під дію будь-яких інших положень ДОПНВ, крім положень цього розділу.
5.5.3.2.2 Коли небезпечні вантажі завантажуються в транспортні засоби або контейнери, що містять речовини, використовувані для цілей охолодження або кондиціонування, на додаток до положень цього розділу застосовуються всі інші положення ДОПНВ, що стосуються цих небезпечних вантажів.
5.5.3.2.3 (Зарезервовано)
5.5.3.2.4 Особи, що займаються обробкою або перевезенням транспортних засобів і контейнерів, у яких перевозиться сухий лід (№ ООН 1845) або що містять речовини, використовувані для цілей охолодження або кондиціонування, повинні пройти підготовку, що відповідає їх обов’язкам.
5.5.3.3 Упаковки, що містять сухий лід (№ ООН 1845) або холодоагент або кондиціонувальний реагент
5.5.3.3.1 Упаковані небезпечні вантажі, що вимагають охолодження або кондиціонування, яким призначені інструкції з упакування P203, P620, P650, P800, P901 або P904, викладені в підрозділі 4.1.4.1, повинні відповідати належним вимогам відповідної інструкції з упакування.
5.5.3.3.2 У випадку впакованих небезпечних вантажів, що вимагають охолодження або кондиціонування, яким призначені інші інструкції з упакування, упаковки повинні бути здатні витримувати дуже низькі температури й не повинні піддаватися впливу холодоагенту або кондиціонувального реагенту або значною мірою втрачати свою міцність у результаті такого впливу. Упаковки повинні бути сконструйовані й виготовлені таким чином, щоб була можливість випуску газу для запобігання підвищенню тиску, який міг би призвести до розриву тари. Небезпечні вантажі повинні впаковуватися таким чином, щоб виключалася можливість їх переміщення після того, як будь-який холодоагент або кондиціонувальний реагент випарується.
5.5.3.3.3 Упаковки, що містять сухий лід (№ ООН 1845) або холодоагент або кондиціонувальний реагент, повинні перевозитися в добре вентильованих транспортних засобах і контейнерах. У цьому випадку маркування, передбачене в підрозділі 5.5.3.6, не потрібно.
Вентиляція не потрібна, а маркування, передбачене в підрозділі 5.5.3.6, потрібно, якщо:
− виключений газообмін між вантажним відділенням і кабіною водія; або
− мова йде про вантажне відділення, яке обладнано в ізотермічних транспортних засобах, транспортних засобах-льодовиках або транспортних засобах-рефрижераторах, вказаних, наприклад, в Угоді про міжнародні перевезення швидкопсувних харчових продуктів і про спеціальні транспортні засоби, призначені для цих перевезень (УПС), і відділене від кабіни водія.
ПРИМІТКА:У даному контексті «добре вентильовані» означає, що є атмосфера, у якій концентрація діоксиду вуглецю становить менше 0,5% за об'ємом, а концентрація кисню перевищує 19,5% за об'ємом.
5.5.3.4 Розміщення маркування на упаковках, що містять сухий лід (№ ООН 1845) або холодоагент або кондиціонувальний реагент
5.5.3.4.1 Упаковки, що містять сухий лід (№ ООН 1845) у якості вантажу, повинні мати маркування у вигляді слів «ВУГЛЕЦЮ ДІОКСИД ТВЕРДИЙ» або «ЛІД СУХИЙ»; упаковки, що містять небезпечні вантажі, використовувані для цілей охолодження або кондиціонування, повинні мати маркування у вигляді найменування цих небезпечних вантажів, зазначеного у стовпчику 2 таблиці А глави 3.2, за яким, залежно від випадку, йдуть слова «У ЯКОСТІ ХОЛОДОАГЕНТУ» або «У ЯКОСТІ КОНДИЦІОНУВАЛЬНОГО РЕАГЕНТУ» офіційною мовою країни походження й, крім того, якщо ця мова не є англійською, французькою або німецькою, − англійською, французькою або німецькою мовою, за умови, що угодами (якщо такі є), укладеними між країнами, зацікавленими в перевезенні, не передбачено інше.
5.5.3.4.2 Ці маркувальні знаки повинні бути довговічними й розбірливими й повинні розміщатися в такому місці й мати відносно упаковки такі розміри, які робили б їх ясно видимими.
5.5.3.5 Транспортні засоби й контейнери, що містять не упакований сухий лід
5.5.3.5.1 Якщо використовується сухий лід у не упакованому вигляді, він не повинен вступати в безпосереднє зіткнення з металевою конструкцією транспортного засобу або контейнера щоб уникнути окрихчувания металу. Повинні бути вжиті заходи для забезпечення належної ізоляції між сухим льодом і транспортним засобом або контейнером за допомогою відділення їх один від одного мінімум на 30 мм (наприклад, шляхом використання придатних матеріалів з низькою теплопровідністю, таких як дошки, піддони і т.д.).
5.5.3.5.2 Якщо сухий лід поміщений навколо упаковок, повинні бути вжиті заходи для забезпечення того, щоб упаковки залишалися в первинному положенні під час перевезення після того, як сухий лід випарується.
5.5.3.6 Розміщення маркування на транспортних засобах і контейнерах
5.5.3.6.1 На погано вентильованих транспортних засобах і контейнерах, що містять сухий лід (№ ООН 1845) абонебезпечні вантажі, використовувані для цілей охолодження або кондиціонування, повинен бути попереджувальний маркувальний знак, зазначений у пункті 5.5.3.6.2; він повинен бути розміщений у кожній точці входу в місці, у якому він буде добре помітний для осіб, що відкривають транспортний засіб або контейнер або входять у нього. Цей маркувальний знак повинен зберігатися на транспортному засобі або контейнері доти, поки не будуть виконані наступні умови:
a) транспортний засіб був провітрений або контейнер був провітрений з метою видалення шкідливих концентрацій сухого льоду (№ ООН 1845) або холодоагенту або кондиціонувального реагенту; і
b) сухий лід (№ ООН 1845) або охолоджені або кондиціоновані вантажі були вивантажені.
Доти поки на транспортному засобі або контейнері розміщений зазначений попереджувальний маркувальний знак, перед входом у нього повинні бути вжиті заходи обережності. Необхідність вентиляції через завантажувальні двері або за допомогою інших засобів (наприклад, примусової вентиляції) повинна оцінюватися, і це питання повинне бути включено у програму підготовки відповідних осіб.
5.5.3.6.2 Попереджувальний маркувальний знак повинен бути таким, як показано на рис. 5.5.3.6.2.
Рис. 5.5.3.6.2

Маркувальний знак, що попереджає про небезпеку асфіксії, для транспортних засобів і контейнерів
* Включити найменування, вказане у стовпчику 2 таблиці А глави 3.2. або найменування задушливого газу, що використовується в якості холодоагенту/кондиціонувального реагенту. Напис повинен бути виконаний великими літерами висотою не менше 25 мм, розташованими на одному рядку. Якщо належне відвантажувальне найменування є занадто довгим, щоб поміститися в наявний простір, літери можуть бути зменшені до максимального придатного розміру. Наприклад: «ВУГЛЕЦЮ ДІОКСИД ТВЕРДИЙ». Може бути додана інформація, така як «У ЯКОСТІ ХОЛОДОАГЕНТУ» або «У ЯКОСТІ КОНДИЦІОНУВАЛЬНОГО РЕАГЕНТУ».
Цей маркувальний знак повинен мати прямокутну форму. Мінімальні розміри: ширина − 150 мм і висота − 250 мм. Напис «ПОПЕРЕДЖЕННЯ» повинен бути виконаний червоним або білим кольором при висоті літер не менше 25 мм. Якщо розміри не зазначені, усі елементи повинні бути приблизно пропорційні зображеним елементам.
Напис «ПОПЕРЕДЖЕННЯ» і слова «У ЯКОСТІ ХОЛОДОАГЕНТУ» або «У ЯКОСТІ КОНДИЦІОНУВАЛЬНОГО РЕАГЕНТУ», залежно від випадку, повинен бути виконаний офіційною мовою країни походження й, крім того, якщо ця мова не є англійською, німецькою або французькою, − англійською, французькою або німецькою мовою, за умови, що угодами (якщо такі є), укладеними між країнами, зацікавленими в перевезенні, не передбачено інше.
5.5.3.7 Документація
5.5.3.7.1 В документах (таких, як коносамент, вантажний маніфест або накладна КДПВ/ЦІМ), пов’язаних з перевезенням транспортних засобів або контейнерів, що містять або містили сухий лід (№ ООН 1845) або речовини, використовувані для цілей охолодження або кондиціонування, і не повністю провітрених перед перевезенням, повинна вказуватися наступна інформація:
a) номер ООН, якому передують літери «UN»; і
b) найменування, зазначене у стовпчику 2 таблиці А глави 3.2, у разі необхідності, за яким йдуть слова «У ЯКОСТІ ХОЛОДОАГЕНТУ» або «У ЯКОСТІ КОНДИЦІОНУВАЛЬНОГО РЕАГЕНТУ» офіційною мовою країни походження й, крім того, якщо ця мова не є англійською, французькою або німецькою, − англійською, французькою або німецькою мовою, за умови, що угодами (якщо такі є), укладеними між країнами, зацікавленими в перевезенні, не передбачено інше.
Наприклад: «UN 1845, ВУГЛЕЦЮ ДІОКСИД ТВЕРДИЙ, У ЯКОСТІ ХОЛОДОАГЕНТУ».
5.5.3.7.2 Транспортний документ може бути складений у будь-якій формі за умови, що в ньому міститься інформація, яка вимагається в пункті 5.5.3.7.1. Записи з цією інформацією повинні легко ідентифікуватися, бути розбірливими й такими, що не витираються.
5.5.4 Небезпечні вантажі, що містяться в обладнанні, яке використовується або призначене для використання під час перевезення, прикріпленому до упаковок, транспортних пакетів, контейнерів або вантажних відділень або поміщеному в них
5.5.4.1 Небезпечні вантажі (наприклад, літієві батареї, касети паливних елементів), що містяться в обладнанні, такому як реєстратори даних і пристрої відстеження вантажів, прикріпленому до упаковок, транспортних пакетів, контейнерів або вантажних відділень або поміщеному в них, не підпадають під дію яких-небудь положень ДОПНВ, крім наступних:
a) обладнання повинно використовуватися або бути призначене для використання під час перевезення;
b) небезпечні вантажі, що містяться в ньому (наприклад, літієві батареї, касети паливних елементів) повинні задовольняти застосовним вимогам до конструкції й випробувань, зазначеним у ДОПНВ; і
c) обладнання повинне бути здатне витримувати удари й навантаження, що зазвичай виникають під час перевезення.
5.5.4.2 Коли таке обладнання, що містить небезпечні вантажі, перевозиться в якості вантажу, повинна використовуватися відповідна позиція таблиці А глави 3.2 і повинні виконуватися всі застосовні положення ДОПНВ.
[3] Замість технічного найменування дозволяється використовувати одне з наступних найменувань:
– для № ООН 1078 газу рефрижераторного, н.з.к.: суміш F1, суміш F2, суміш F3;
– для № ООН 1060 метилацетилену й пропадієну сумішей стабілізованих: суміш P1, суміш P2;
– для №ООН1965 газів вуглеводневих суміші скрапленої, н.з.к.: суміш A або бутан, суміш A01 або бутан, суміш A02 або бутан, суміш А0 або бутан, суміш A1, суміш В1, сумішВ2, суміш B, суміш C або пропан;
– для № ООН 1010 бутадієнів стабілізованих: 1,2-бутадієн стабілізований, 1,3‑бутадієн стабілізований;
– для № ООН 1012 бутилену: 1-бутилен, цис-2-бутилен, транс-2-бутилен, суміш бутиленів.
[4] Відмітний знак держави реєстрації, використовуваний на автомобілях і причепах, що перебувають в міжнародному дорожньому русі, наприклад відповідно до Женевської конвенції про дорожній рух 1949 року або Віденської конвенції про дорожній рух 1968 року.
1Вода використовується виключно з дозволу експертів.
1Вода використовується виключно з дозволу експертів.
1 Вода використовується виключно з дозволу експертів.
1 (x) слід замінити на «1» або «2» залежно від конкретного випадку.
[6] У випадку виробів «вибуховий вміст» означає вибухову речовину, що міститься у виробі.
3 Відмітний знак держави реєстрації, використовуваний на автомобілях і причепах, що знаходяться в міжнародному дорожньому русі, наприклад відповідно до Женевської конвенції про дорожній рух 1949 року або Віденської конвенції про дорожній рух 1968 року.
4 Можна звернутися за довідкою до відповідних рекомендацій Центру ЄЕК ООН зі спрощення процедур торгівлі й електронних ділових операцій (СЕФАКТ ООН) (якщо вони використовуються), зокрема до Рекомендації№1 (Формуляр-зразок Організації Об’єднаних Націй для зовнішньоторговельних документів) (ECE/TRADE/137, видання 81.3), до Формуляру-зразка Організації Об’єднаних Націй для зовнішньоторговельних документів – Керівні принципи для використання (ECE/TRADE/270, видання 2002року), доРекомендації№11 (Питання документації під час міжнародного перевезення небезпечних вантажів) (ECE/TRADE/204, видання 96.1– в цей час переглядається) й до Рекомендації№22 (Формуляр-зразок для стандартних транспортних інструкцій) (ECE/TRADE/168, видання 1989року). Див.також Короткі зведення про рекомендації зі спрощення процедур торгівлі СЕФАКТ ООН (ECE/TRADE/346, видання 2006року) і Довідник елементів зовнішньоторговельних даних Організації Об’єднаних Націй (ДЕЗДООН) (ECE/TRADE/362, видання 2005року).
5 Міжнародна морська організація (ІМО), Міжнародна організація праці (МОТ) і Європейська економічна комісія Організації Об’єднаних Націй (ЄЕК ООН) також розробили практичне й навчальне керівництво з укладання вантажів у вантажні транспортні одиниці, яке опублікувала ІМО («Кодекс практики ІМО/МОТЄЕК ООН з укладання вантажів у вантажні транспортні одиниці (Кодекс ГТЄ»).
6Розділ 5.4.2 МКМПНВ (Поправка 40–20) містить наступні вимоги:
5.4.2 Свідоцтво про завантаження контейнера/транспортного засобу
5.4.2.1 Коли небезпечні вантажі впаковуються або вантажаться в будь-який контейнер або будь-який транспортний засіб, особи, відповідальні за завантаження контейнера або транспортного засобу, повинні скласти «свідоцтво про завантаження контейнера/транспортного засобу», у якому вказується(ються) розпізнавальний(і) номер(и) контейнера/транспортного засобу й підтверджується, що операція виконана відповідно до нижченаведених умов:
.1 контейнер/транспортний засіб були чистими, сухими й за зовнішнім виглядом придатними для приймання вантажу;
.2 упаковки, які повинні бути розділені відповідно до застосовних вимог відносно розподілу, не були покладені сумісно на або в контейнер/транспортний засіб [без затвердження відповідного компетентного органу згідно з підрозділом 7.3.4.1 (МКМПНВ)];
.3 усі упаковки були оглянуті на предмет зовнішніх ушкоджень, і були завантажені тільки неушкоджені упаковки;
.4 барабани були завантажені у вертикальному положенні, якщо компетентний орган не розпорядився інакше, і всі вантажі були належним чином укладені й, якщо необхідно, закріплені за допомогою відповідного матеріалу згідно із способом(ами) перевезення по передбачуваному маршруту;
.5 вантажі, завантажені навалом/насипом, були рівномірно розподілені в контейнері/транспортному засобі;
.6 під час перевезення партій, що включають вантажі класу 1, за винятком підкласу 1.4, контейнер/транспортний засіб конструктивно придатний відповідно до вимог розділу 7.1.2 (МКМПНВ);
.7 контейнер/транспортний засіб і упаковки належним чином маркіровані, оснащені знаками небезпеки й великими знаками небезпеки;
.8 якщо для цілей охолодження або кондиціонування використовуються речовини, що становлять небезпеку асфіксії (такі, як сухий лід (№ ООН 1845), або азот охолоджений рідкий (№ ООН 1977), або аргон охолоджений рідкий (№ ООН 1951)), контейнер/транспортний засіб має зовні маркування відповідно до підрозділу 5.5.3.6 (МКМПНВ); і
.9 на кожну партію небезпечних вантажів, завантажену в контейнер/транспортний засіб, отримано транспортний документ на небезпечні вантажі, необхідний згідно з розділом 5.4.1 (МКМПНВ).
ПРИМІТКА: Для переносних цистерн свідоцтво про завантаження контейнера/транспортного засобу не потрібно.
5.4.2.2 Інформація, яку потрібно вказувати в транспортному документі на небезпечні вантажі й у свідоцтві про завантаження контейнера/транспортного засобу, може бути зведена в єдиний документ; а якщо ні, то ці документи повинні додаватися. Якщо ця інформація зведена в єдиний документ, то в цей документ повинна бути включена підписана декларація наступного змісту: «Цим заявляю, що завантаження вантажів у контейнер/транспортний засіб здійснено відповідно до застосовних положень». Ця декларація повинна бути датована, і в документі повинні бути наведені відомості про особу, що підписала декларацію. Факсимільні підписи допускаються в тих випадках, коли відповідними законами й правилами, визнається юридична чинність факсимільних підписів.
5.4.2.3 Якщо свідоцтво про завантаження контейнера/транспортного засобу передається перевізнику методом ЕОІ або ЕОД, підпис(и) може (можуть) бути електронним(ими) або може (можуть) замінятися зазначенням прізвища (прізвищ) (великими літерами) особи (осіб), що має (мають) право підпису.
5.4.2.4 Коли свідоцтво про завантаження контейнера/транспортного засобу передається перевізнику методом ЕОІ або ЕОД і надалі небезпечні вантажі передаються перевізнику, який вимагає наявності свідоцтва про завантаження контейнера/транспортного засобу, виконаного на папері, перевізник повинен забезпечити, щоб у документі, виконаному на папері, було зазначено «Спочатку отриманий в електронному вигляді» і щоб було зазначено великими літерами прізвище особи, що його підписала».